Аркадак
Эль-Монте ваш город?
Да
Выбрать другой город
Написать в
WhatsApp
Написать в
Telegram
Каталог

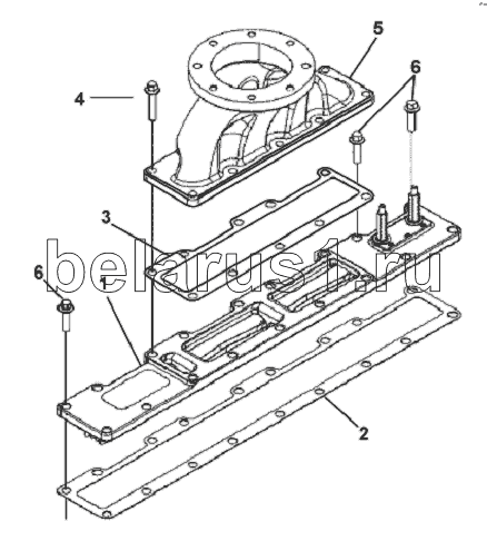
Каталог запасных частей к технике: Cummins L340-20. Впускной коллектор

zoom-in zoom-out enlarge shrink circle-right circle-left file-text2 info cart
1
2
3
4
5
6
6
Позиция на иллюстрации Заводской номер детали Название детали
1 3944222 Подогреватель воздуха
2 3944646 Прокладка уплотнительная впускной трубы
3 3992090 Прокладка уплотнительная
4 A3900678 Болт
5 C3943613 Труба впускная
6 Q1840830 Болт М8х30
Содержащиеся в справочниках-каталогах запасные части и детали не предлагаются к продаже, а носят исключительно информационный характер