Аркадак
Эль-Монте ваш город?
Да
Выбрать другой город
Написать в
WhatsApp
Написать в
Telegram
Каталог

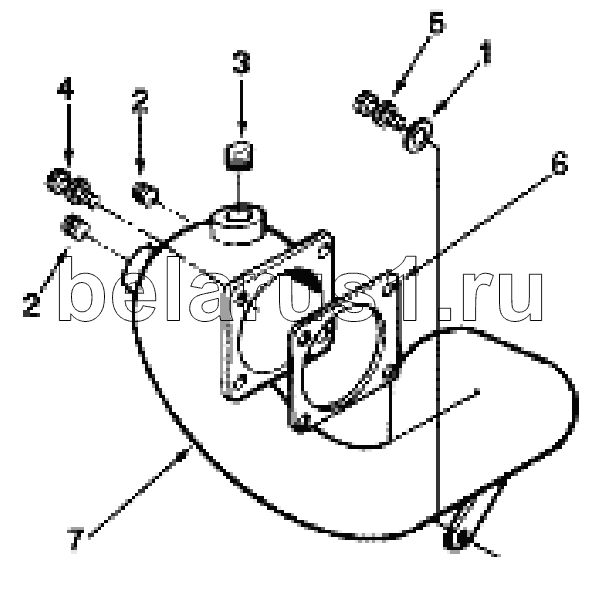
Каталог запасных частей к технике: Cummins QSNT-G. CONNECTION, WATER INLET WI 1078

zoom-in zoom-out enlarge shrink circle-right circle-left file-text2 info cart
1
2
2
3
4
5
6
7
Позиция на иллюстрации Заводской номер детали Название детали
1 63842 WASHER, PLAIN
2 3008468 Заглушка трубки
3 3008470 PLUG, PIPE
4 3010595 SCREW, CAPTIVE WASHER
5 3012470 SCREW, CAPTIVE WASHER CAP
6 3024960 GASKET, CONNECTION
7 3028280 CONNECTION, WATER TRANSFER
Содержащиеся в справочниках-каталогах запасные части и детали не предлагаются к продаже, а носят исключительно информационный характер