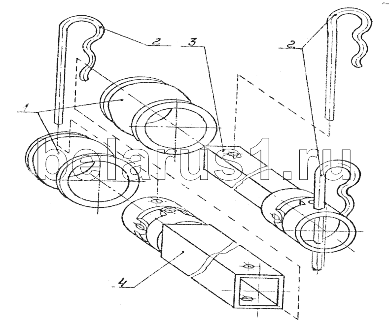
Каталог запасных частей к технике: БЭМЗ СПУ-6. Вал карданный ОТИБ.303714.003

1
2
2
3
4
Позиция на иллюстрации | Заводской номер детали | Название детали | |
---|---|---|---|
1 | ОТИБ.752281.001 | Муфта | |
2 | ОТИБ.758586.001 | Шплинт | |
3 | ОТИБ.303729.001-01 | Вал | |
4 | ОТИБ.303729.001 | Вал |
Содержащиеся в справочниках-каталогах запасные части и детали не предлагаются к продаже, а носят исключительно информационный характер