Аркадак
Эль-Монте ваш город?
Да
Выбрать другой город
Написать в
WhatsApp
Написать в
Telegram
Каталог

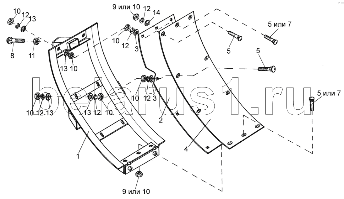
Каталог запасных частей к технике: Гомсельмаш КДП-3000 Палессе FT40. Терка ПКК 0138000Б

zoom-in zoom-out enlarge shrink circle-right circle-left file-text2 info cart
1
2
3
3
4
5
5
5
5
7
7
8
9
9
10
10
10
10
10
10
10
10
11
12
12
12
12
12
12
13
13
13
13
14
Позиция на иллюстрации Заводской номер детали Название детали
ПКК0138000Б ПКК0138000Б Терка
1 ПКК0138010Б Рамка
2 ПКК0138402А Лист
3 ПКК0138404 Шайба
4 ПКК0138406А Лист
5 ПКК0138605А Болт специальный
6 БолтМ12-6ех30-7786 Болт М12-6ех30-7786
7 БолтМ12-6ех40-7786 Болт М12-6ех40-7786
8 БолтМ12-6ех45-7802 Болт М12-6ех45-7802
9 ГайкаМ12-6Н Гайка М12-6Н
10 ГайкаМ12-6G-5915 Гайка М12-6G-5915
11 ГайкаМ12-6G-5916 Гайка М 12-6G-5916
12 Шайба12Т.65Г-6402 Шайба 12Т.65Г-6402
13 Шайба12.01-6958 Шайба 12.01-6958
14 Шайба12.01-11371 Шайба 12.01-11371
Содержащиеся в справочниках-каталогах запасные части и детали не предлагаются к продаже, а носят исключительно информационный характер