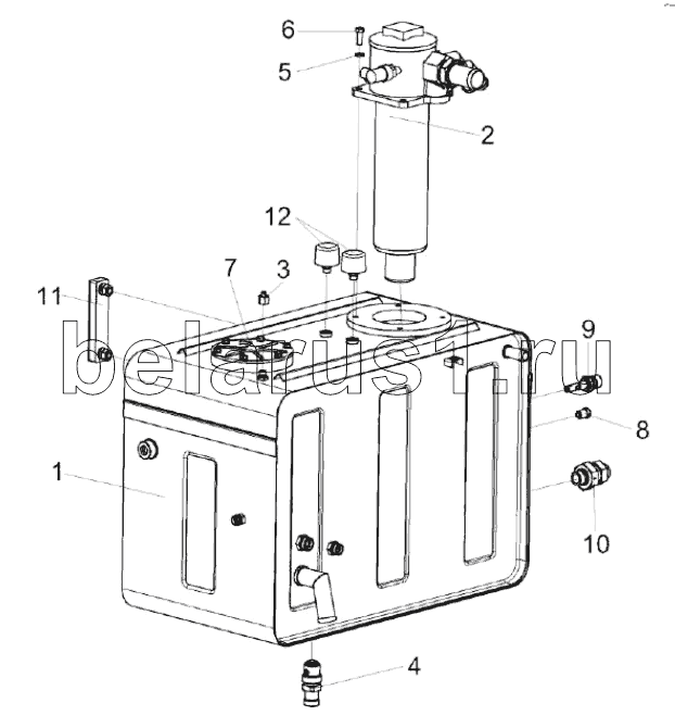
Каталог запасных частей к технике: Гомсельмаш KС-100. Бак масляный КС-100-0600010

КС-100-0600010
1
2
3
4
5
6
7
8
9
10
11
12
Позиция на иллюстрации | Заводской номер детали | Название детали | |
---|---|---|---|
КС-100-0600010 | КС-100-0600010 | Бак масляный | |
1 | КС-100-0600020 | Бак масляный | |
2 | КС-100-0600300 | Фильтр | |
3 | ЗНГ-24-01 | Заглушка | |
4 | КИС 0108200В | Штуцер сливной | |
5 | Болт М10-6eх25 - 7796 | Болт | |
6 | Шайба 10 65Г - 6402 | Шайба | |
7 | Кольцо 112-118-36-2-2 – 18829/9833 | Кольцо | |
8 | ДАТЖ-04 | Заказать | Датчик аварийной температуры жидкости |
9 | ДГС-М-00-24-01-К | Датчик-гидросигнализатор | |
10 | Гидроклапан | Гидроклапан обратный | |
11 | FSA-127-1.X/-/12 | Указатель уровня масла | |
12 | ФВГ50-1/4-01 | Фильтр воздушный гидравлический. |
Содержащиеся в справочниках-каталогах запасные части и детали не предлагаются к продаже, а носят исключительно информационный характер