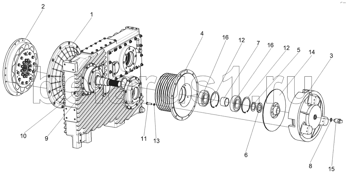
Каталог запасных частей к технике: Гомсельмаш КВК-8060. Главный привод КВК 0151000

1
2
3
4
5
6
7
8
9
10
11
12
12
13
14
15
16
16
Позиция на иллюстрации | Заводской номер детали | Название детали | |
---|---|---|---|
КВК0151000 | КВК0151000 | Главный привод | |
1 | КВК0137100 | Мультипликатор | |
2 | КВК0151010 | Муфта | |
3 | КВК0151040 | Механизм нажимной | |
4 | КВК0151303 | Шкив | |
5 | КВК0151407 | Шайба | |
6 | КВК0151611 | Гайка | |
7 | КВК0151801 | Втулка | |
8 | КИС0108424А | Шайба | |
9 | УЭС-6-0400602-03 | Болт | |
10 | КСН0100665-01 | Шайба | |
11 | БолтМ12-6eх40-7786 | Болт М12-6eх40-7786 | |
12 | В130-13943 | Кольцо В130-13943 | |
13 | Шайба12Т.65Г-6402 | Шайба 12Т.65Г-6402 | |
14 | 077474.0 | Диск сцепления 077474.0 | |
15 | 040-03093 | Устройство для подвода масла | |
16 | 6312-2RS1 | Подшипник 6312-2RS1 |
Содержащиеся в справочниках-каталогах запасные части и детали не предлагаются к продаже, а носят исключительно информационный характер