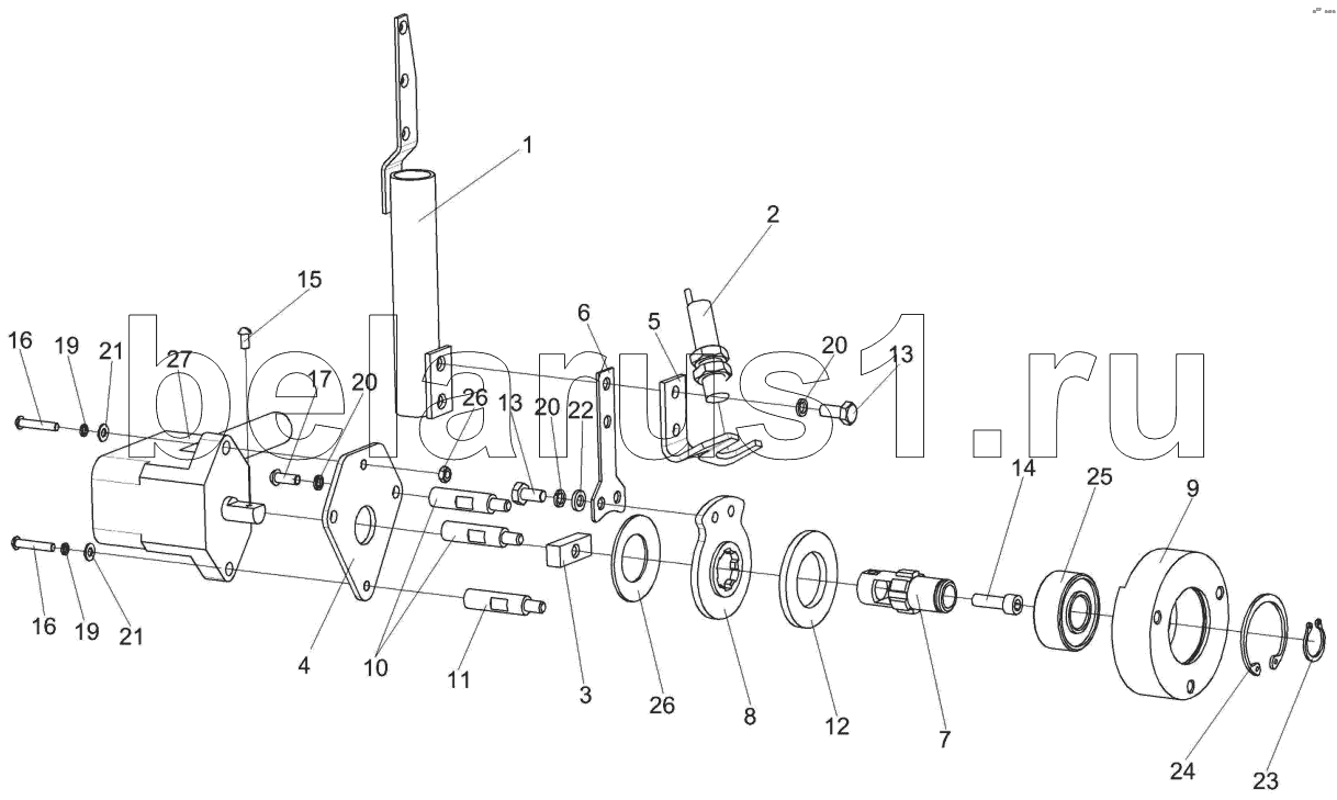
Каталог запасных частей к технике: Гомсельмаш КВК-8060. Привод КВК 0129310

1
2
3
4
5
6
7
8
9
10
11
12
13
13
14
15
16
16
17
18
19
19
20
20
20
21
21
22
23
24
25
26
27
Позиция на иллюстрации | Заводской номер детали | Название детали | |
---|---|---|---|
КВК0129310 | КВК0129310 | Привод | |
1 | КВК0129450 | Труба | |
2 | КВК0701600 | Датчик | |
3 | КВК0129422 | Вороток | |
4 | КВК0129425 | Шайба | |
5 | КВК0129514 | Кронштейн | |
6 | КВК0129515 | Пружина | |
7 | КВК0129607 | Вал | |
8 | КВК0129608 | Шайба | |
9 | КВК0129621 | Корпус | |
10 | КВК0129623 | Бонка | |
11 | КВК0129623-01 | Бонка | |
12 | УЭС0300001 | Накладка | |
13 | БолтМ6-6eх12-7798 | Болт М6-6eх12-7798 | |
14 | ВинтМ6-6eх20-11738 | Винт М6-6eх20-11738 | |
15 | ВинтB.М4-6eх8-17473 | Винт B.М4-6eх8-17473 | |
16 | ВинтB.М4-6eх22-17473 | Винт B.М4-6eх22-17473 | |
17 | ВинтB.М6-6eх10-17473 | Винт B.М6-6eх10-17473 | |
18 | ГайкаМ4-6G-5927 | Гайка М4-6G-5927 | |
19 | Шайба4Т.65Г-6402 | Шайба 4Т.65Г-6402 | |
20 | Шайба6Т.65Г-6402 | Шайба 6Т.65Г-6402 | |
21 | ШайбаC.4.01-11371 | Шайба C.4.01-11371 | |
22 | ШайбаC.6.01-11371 | Шайба C.6.01-11371 | |
23 | В17-13942 | Кольцо В17-13942 | |
24 | В40-13943 | Кольцо В40-13943 | |
25 | 180503-8882 | Подшипник 180503-8882 | |
26 | I-3-3-45х25х1,5х1,5-3057 | Пружина тарельчатая | |
27 | С-03 | Сенсор |
Содержащиеся в справочниках-каталогах запасные части и детали не предлагаются к продаже, а носят исключительно информационный характер