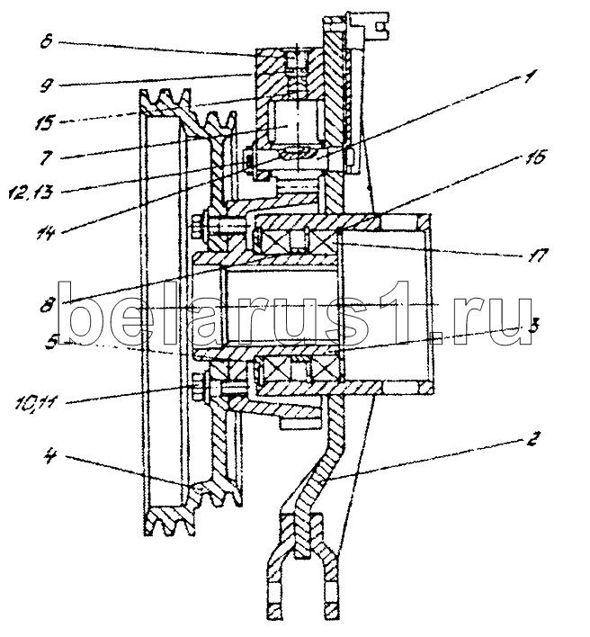
Каталог запасных частей к технике: Гомсельмаш КЗР-10. Храповый механизм (КЗР0101010)

1
2
3
4
5
6
7
8
9
10
11
12
13
14
15
16
17
Позиция на иллюстрации | Заводской номер детали | Название детали | |
---|---|---|---|
КЗР0101010 | КЗР0101010 | Храповой механизм | |
1 | КЗР0100340 | Рычаг | |
2 | КЗР0101980 | Рычаг | |
3 | КЗР0101990 | Храповое колесо | |
4 | КЗР0101212А | Шкив | |
5 | КЗР0101419Б | Шайба | |
6 | КЗР0101612Б | Пробка | |
7 | КЗР0101653 | Собачка | |
8 | КЗР0101834 | Втулка | |
9 | КЗР0201618А | Пружина | |
10 | КЗР0100603А | Болт | |
11 | КСН0101621 | Шайба | |
12 | [Шайба С20.01-11371] | Шайба С20.01-11371 | |
13 | [Шплинт 4х28-397] | Шплинт 4х28-397 | |
14 | [Шпонка 6х6х18-23360] | Шпонка 6х6х18-23360 | |
15 | [Шарик Б14,228-60-3722] | Шарик Б14,228-60-3722 | |
16 | [Кольцо А140-13943] | Кольцо А140-13943 | |
17 | [Подшипник 118-8338] | Подшипник 118-8338 |
Содержащиеся в справочниках-каталогах запасные части и детали не предлагаются к продаже, а носят исключительно информационный характер