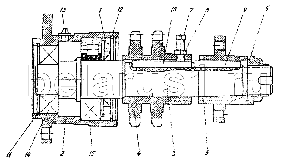
Каталог запасных частей к технике: Гомсельмаш КЗР-10. Контрпривод (КЗР0101930Б)

1
2
3
4
5
6
7
8
9
10
11
12
13
14
15
Позиция на иллюстрации | Заводской номер детали | Название детали | |
---|---|---|---|
КЗР0101930Б | КЗР0101930Б | Контрпривод | |
1 | КЗР0101940 | Крышка | |
2 | КЗР0101302 | Корпус | |
3 | КЗР0100652А | Вал | |
4 | КЗР0100653А | Звездочка | |
5 | КЗР0101621 | Гайка | |
6 | КЗР0101638В | Фланец | |
7 | [Винт ВМ10-6gх30.22H-1485] | Винт ВМ10-6gх30.22H-1485 | |
8 | [Гайка М10-6g.04.016-2526] | Гайка М10-6g.04.016-2526 | |
9 | [Шпонка 14х9х63-23360] | Шпонка 14х9х63-23360 | |
10 | [Шпонка 14х9х80-23360] | Шпонка 14х9х80-23360 | |
11 | [Кольцо А100-13941] | Кольцо А100-13941 | |
12 | [Кольцо А120-13941] | Кольцо А120-13941 | |
13 | [Масленка 1.2-19853] | Масленка 1.2-19853 | |
14 | [Подшипник 60309К1-7242] | Подшипник 60309К1-7242 | |
15 | [Подшипник 42311-8328] | Подшипник 42311-8328 |
Содержащиеся в справочниках-каталогах запасные части и детали не предлагаются к продаже, а носят исключительно информационный характер