Каталог запасных частей к технике: Гомсельмаш КЗР-10. Контрпривод (КЗР0219010Б)

1
2
3
4
5
6
7
8
9
10
11
12
13
14
15
16
17
18
18
18
18
19
20
21
22
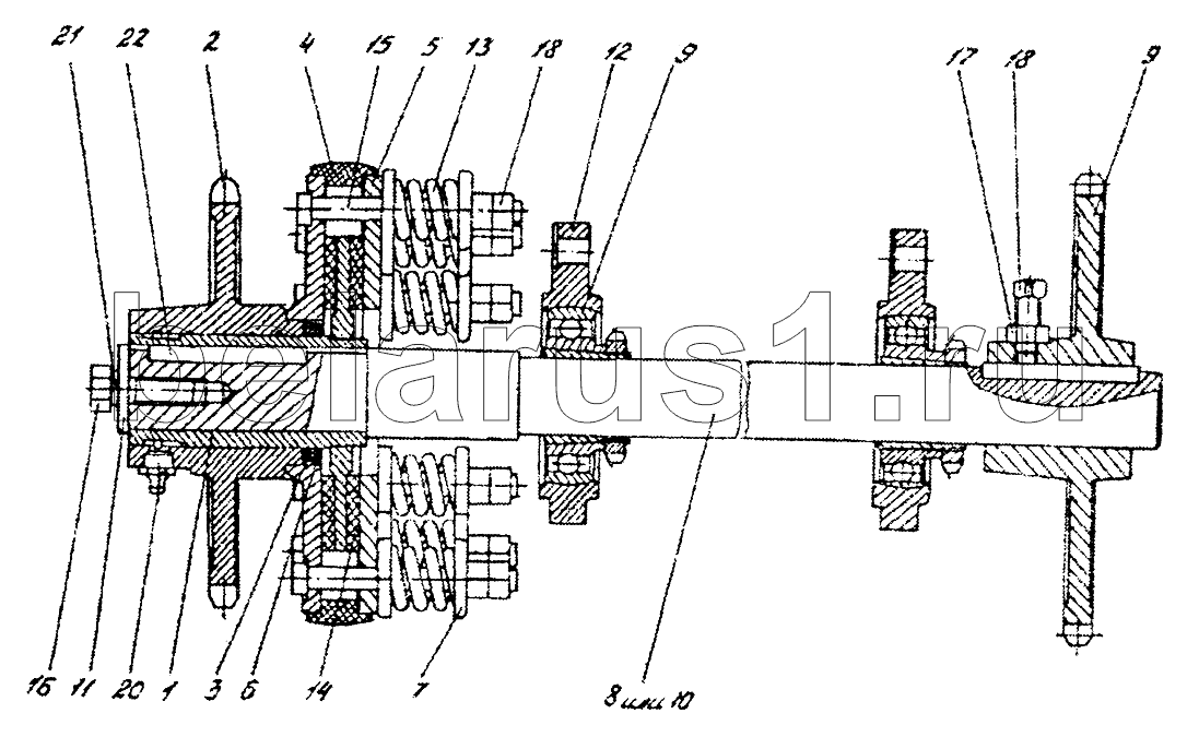
Позиция на иллюстрации | Заводской номер детали | Название детали | |
---|---|---|---|
КЗР0219100В | КЗР0219100В | Муфта фрикционная | |
КЗР0219010Б | КЗР0219010Б | Контрпривод | |
1 | КЗР0219030Б | Ступица трения | |
2 | КЗР0219040В | Блок звездочек | |
3 | КЗР0219001Б | Кольцо | |
4 | КЗР0219005Б | Кольцо | |
5 | КЗР0219412В | Диск нажимной | |
6 | КЗР0219413Б | Обойма | |
7 | КЗР0219414Б | Шайба | |
8 | КЗР0219602Б | Вал | |
9 | КЗР0219603Б | Звездочка | |
10 | КЗР0219621 | Вал | |
11 | КИС0602415А-01 | Шайба | |
12 | Н.027.105 | Корпус подшипника | |
13 | 04.140.014 | Пружина | |
14 | 04.140.017 | Накладка фрикционная | |
15 | [Болт М10-6gх90-7796] | Болт М10-6gх90-7796 | |
16 | [Болт М12-6gх35-7796] | Болт М12-6gх35-7796 | |
17 | [Винт ВМ10-6gх30-1485] | Винт ВМ10-6gх30-1485 | |
18 | [Гайка М10-6g-5915] | Гайка М10-6g-5915 | |
18 | [Гайка М10-6g-5915] | Гайка М10-6g-5915 | |
19 | [Подшипник 1680207] | Подшипник 1680207 | |
20 | [Масленка 1.2-19853] | Масленка 1.2-19853 | |
21 | [Шайба 12.65Г-6402] | Шайба 12.65Г-6402 | |
22 | [Шпонка 10х8х63-23360] | Шпонка 10х8х63-23360 |
Содержащиеся в справочниках-каталогах запасные части и детали не предлагаются к продаже, а носят исключительно информационный характер