Аркадак
Эль-Монте ваш город?
Да
Выбрать другой город
Написать в
WhatsApp
Написать в
Telegram
Каталог

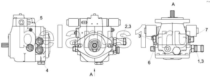
Каталог запасных частей к технике: Гомсельмаш КЗС-1420 часть 2. Гидронасос КЗК-14-0608110

zoom-in zoom-out enlarge shrink circle-right circle-left file-text2 info cart
1
2
3
3
3
4
5
6
7
Позиция на иллюстрации Заводской номер детали Название детали
КЗК-14-0608110 КЗК-14-0608110 Гидронасос
1 КЗК-1420-0608601Э Штуцер
2 КЗК-1420-0608604Э Штуцер
3 G3/8М1-23358 Прокладка
4 G1/2М1-23358 Прокладка
5 MD10V14ME11DX00HER242121200000XXXX07 Гидронасос
6 GE12LR1/4EDOMDCF Штуцер
7 GE15LR3/8EDOMDCF Штуцер
Содержащиеся в справочниках-каталогах запасные части и детали не предлагаются к продаже, а носят исключительно информационный характер