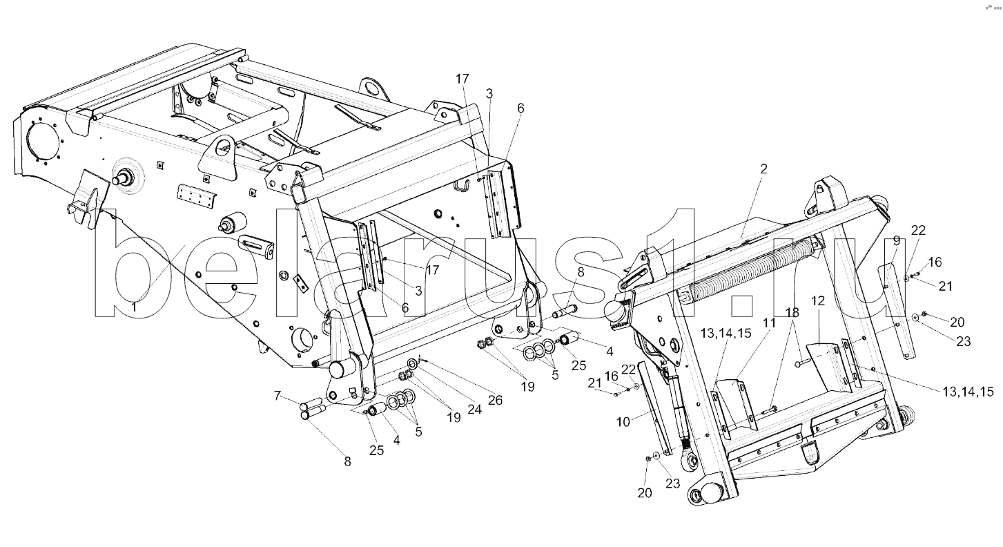
Каталог запасных частей к технике: Гомсельмаш KЗС-812. Установка рамки переходной КЗК 1780000А
/17.gif)
1
2
3
3
4
4
5
5
6
6
7
8
8
9
10
11
12
13
13
14
14
15
15
16
16
17
17
18
19
19
20
20
21
21
22
22
23
23
24
25
25
26
Позиция на иллюстрации | Заводской номер детали | Название детали | |
---|---|---|---|
КЗК-8-1810000А | КЗК-8-1810000А | Камера наклонная | |
1 | КЗК-8-1811000А | Рама | |
2 | КЗК1780000А | Рамка переходная | |
3 | КЗК1770011 | Пластина | |
4 | КЗК1770202А | Втулка | |
5 | КЗК1770414 | Шайба | |
6 | КЗК1770419 | Планка | |
7 | КЗК1770604-02 | Палец | |
8 | КЗК1770606 | Ось | |
9 | КЗК1780403 | Закрылок | |
10 | КЗК1780403-01 | Закрылок | |
11 | КЗК-12-1808407 | Щиток | |
12 | КЗК-12-1808407-01 | Щиток | |
13 | КЗК-12-1808408 | Прокладка | |
14 | КЗК-12-1808408-01 | Прокладка | |
15 | КЗК-12-1808408-02 | Прокладка | |
16 | БолтМ8-6eх25-7798 | Болт М8-6eх25-7798 | |
17 | БолтМ6-6eх14-7798 | Болт М6-6eх14-7798 | |
18 | БолтМ10-6eх90-7802 | Болт М10-6eх90-7802 | |
19 | ГайкаМ24х2-6G-2526 | Гайка М24х2-6G-2526 | |
20 | ГайкаМ10-6G-5915 | Гайка М10-6G-5915 | |
21 | Шайба8Т.65Г-6402 | Шайба 8Т.65Г-6402 | |
22 | ШайбаА8.01-6958 | Шайба | |
23 | ШайбаА10.01-6958 | Шайба А10.01-6958 | |
24 | ШайбаС.24.01-11371 | Шайба С.24.01-11371 | |
25 | Масленка1.2-19853 | Масленка 1.2-19853 | |
26 | Шплинт5х40-397 | Шплинт 5х40-397 |
Содержащиеся в справочниках-каталогах запасные части и детали не предлагаются к продаже, а носят исключительно информационный характер