Каталог запасных частей к технике: Гомсельмаш KЗС-812. Крыша КЗК-8-6-0228140

1
2
3
4
4
5
6
7
7
8
9
9
9
10
11
11
12
12
13
13
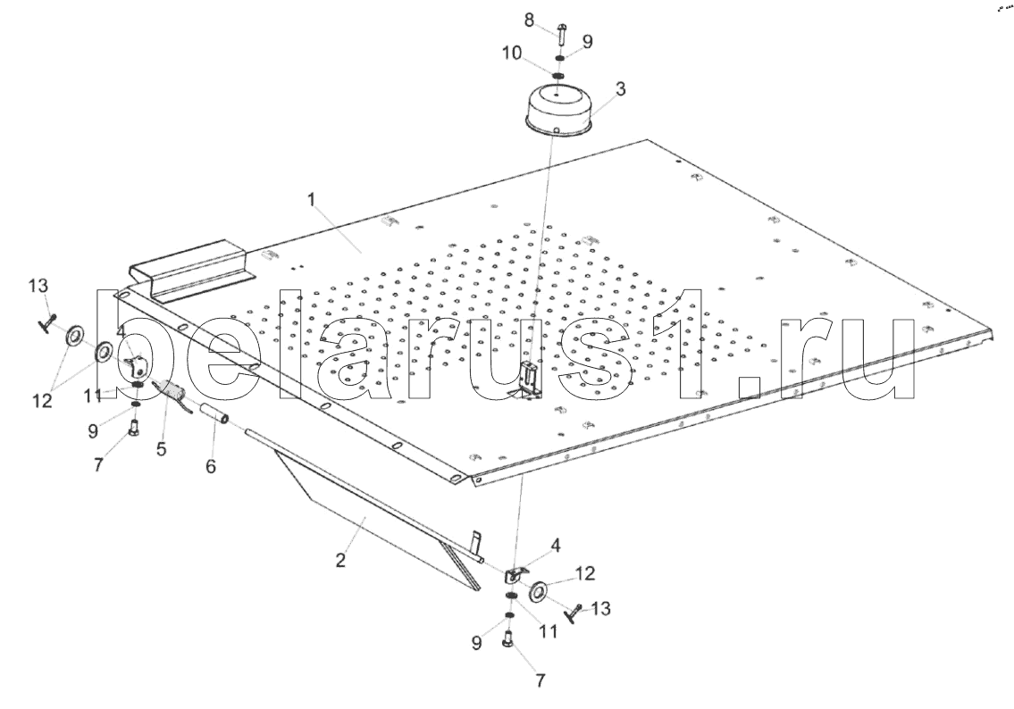
Позиция на иллюстрации | Заводской номер детали | Название детали | |
---|---|---|---|
КЗК-8-6-0228140 | КЗК-8-6-0228140 | Крыша | |
1 | КЗК-8-6-0228080 | Крыша | |
2 | КЗК 0100650А | Заслонка | |
3 | КЗК 0100467 | Крышка | |
4 | КЗК 0100513 | Уголок | |
5 | КЗК 0100621 | Пружина | |
6 | КЗК 0100828 | Втулка | |
7 | Болт М6-6eх12-7798 | Болт | |
8 | Винт B.М6-6eх12-17473 | Винт | |
9 | Шайба 6Т 65Г-6402 | Шайба 6Т 65Г-6402 | |
10 | Шайба C 6.01-6958 | Шайба | |
11 | Шайба C.6.01-11371 | Шайба C.6.01-11371 | |
12 | Шайба C.12-11371 | Шайба | |
13 | Шплинт 3,2х20-397 | Шплинт 3,2х20-397 |
Содержащиеся в справочниках-каталогах запасные части и детали не предлагаются к продаже, а носят исключительно информационный характер