Каталог запасных частей к технике: Гомсельмаш MS280F. Механизм переключения передач

1
2
3
4
5
6
7
8
9
10
11
11
12
12
13
14
14
15
16
17
17
18
18
19
20
20
21
22
22
22
23
24
24
24
24
24
24
25
26
27
27
27
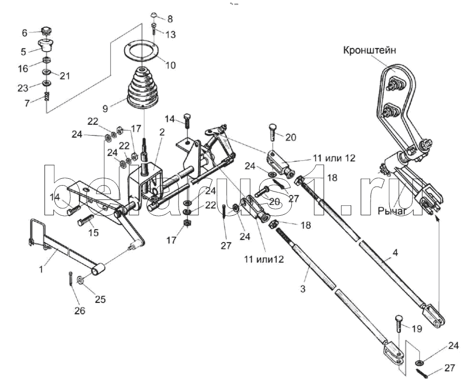
Позиция на иллюстрации | Заводской номер детали | Название детали | |
---|---|---|---|
УЭС-7-0300460 | УЭС-7-0300460 | Тяга | |
УЭС-7-0300470 | УЭС-7-0300470 | Тяга | |
1 | УЭС-7-0104230А | Тяга | |
2 | УЭС-7-0300290 | Блок переключения | |
3 | УЭС-7-0300480 | Тяга | |
4 | УЭС-7-0300490 | Тяга | |
5 | УЭС 0300250 | Рукоятка | |
6 | УЭС 0300017 | Заглушка | |
7 | УЭС 0300693 | Пружина | |
8 | А 30.04.017-01 | Колпачок | |
9 | РСМ-10.04.01.001Б | Чехол | |
10 | РСМ 10.04.01.401Б | Кольцо прижимное | |
11 | КИС 0119318Б | Вилка | |
12 | КИС 0119652 | Вилка | |
13 | Болт М8-6ех50-7796 | Болт М8-6ех50-7796 | |
14 | Болт М10-6ех30-7796 | Болт М10-6ех30-7796 | |
15 | Болт М10-6ех40-7796 | Болт М10-6ех40-7796 | |
16 | Гайка М6-6G-5915 | Гайка М6-6G-5915 | |
17 | Гайка М10-6G-5915 | Гайка М10-6G-5915 | |
18 | Гайка М12-6G-5915 | Гайка М12-6G-5915 | |
19 | Ось 6-10b12х32-9650 | Ось 6-10b12х32-9650 | |
20 | Ось 6-10b12х36-9650 | Ось | |
21 | Шайба 6Т 65Г-6402 | Шайба 6Т 65Г-6402 | |
22 | Шайба 10Т 65Г-6402 | Шайба 10Т 65Г-6402 | |
23 | Шайба 6.01-11371 | Шайба 6.01-11371 | |
24 | Шайба 10.01-11371 | Шайба 10.01-11371 | |
25 | Шайба 12.01-11371 | Шайба 12.01-11371 | |
26 | Шплинт 3,2х25-397 | Шплинт 3,2х25-397 | |
27 | Шплинт 3,2х32-397 | Шплинт 3,2х32-397 |
Содержащиеся в справочниках-каталогах запасные части и детали не предлагаются к продаже, а носят исключительно информационный характер