Каталог запасных частей к технике: Гомсельмаш УЭС-280. Блок радиаторов УЭС 0301430-01
/90.gif)
1
2
2
3
3
4
5
5
5
5
5
5
6
6
6
6
6
6
7
8
8
9
10
10
11
11
12
13
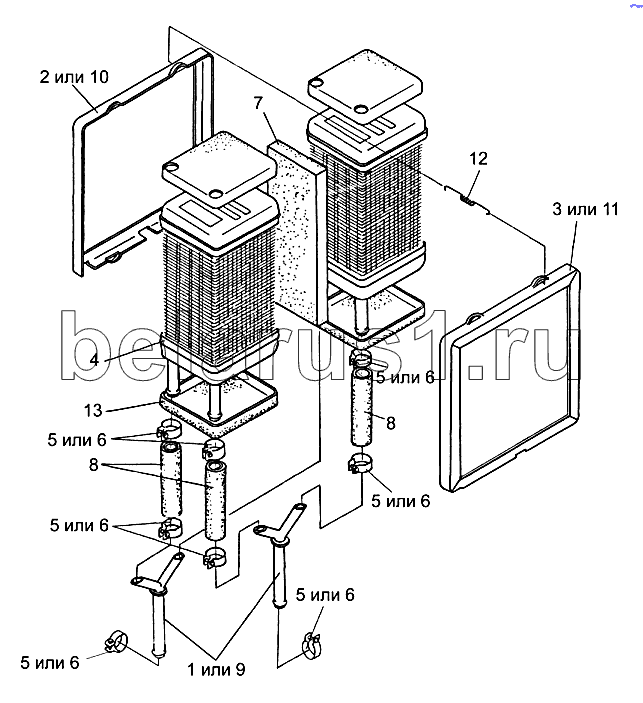
Позиция на иллюстрации | Заводской номер детали | Название детали | |
---|---|---|---|
УЭС0301430-01 | УЭС0301430-01 | Блок радиаторов | |
УЭС0301430-02 | УЭС0301430-02 | Блок радиаторов | |
1 | УЭС0301040 | Тройник | |
2 | УЭС0301220-02 | Рамка | |
2 | УЭС0301220-03 | Рамка | |
3 | УЭС0301220-04 | Рамка | |
3 | УЭС0301220-05 | Рамка | |
4 | ОТ1.13.010 | Радиатор отопителя | |
5 | А23-02.260 | Хомут | |
6 | 308765-П | Хомут | |
7 | УЭС0301014 | Прокладка | |
8 | УЭС0301025 | Шланг | |
9 | УЭС0301033 | Тройник | |
10 | УЭС0301431-02 | Рамка | |
10 | УЭС0301431-03 | Рамка | |
11 | УЭС0301431-04 | Рамка | |
11 | УЭС0301431-05 | Рамка | |
12 | УЭС0301606 | Пружина | |
13 | 70-8115138 | Прокладка |
Содержащиеся в справочниках-каталогах запасные части и детали не предлагаются к продаже, а носят исключительно информационный характер