Каталог запасных частей к технике: Гомсельмаш ЖГР-4.5-1. Установка механизма фиксации
/7.gif)
1
1
2
3
4
4
5
6
7
8
9
10
11
12
13
14
15
16
17
17
18
18
19
20
21
22
22
23
23
24
24
25
26
27
27
28
29
30
30
31
31
31
31
32
32
33
33
34
34
35
35
36
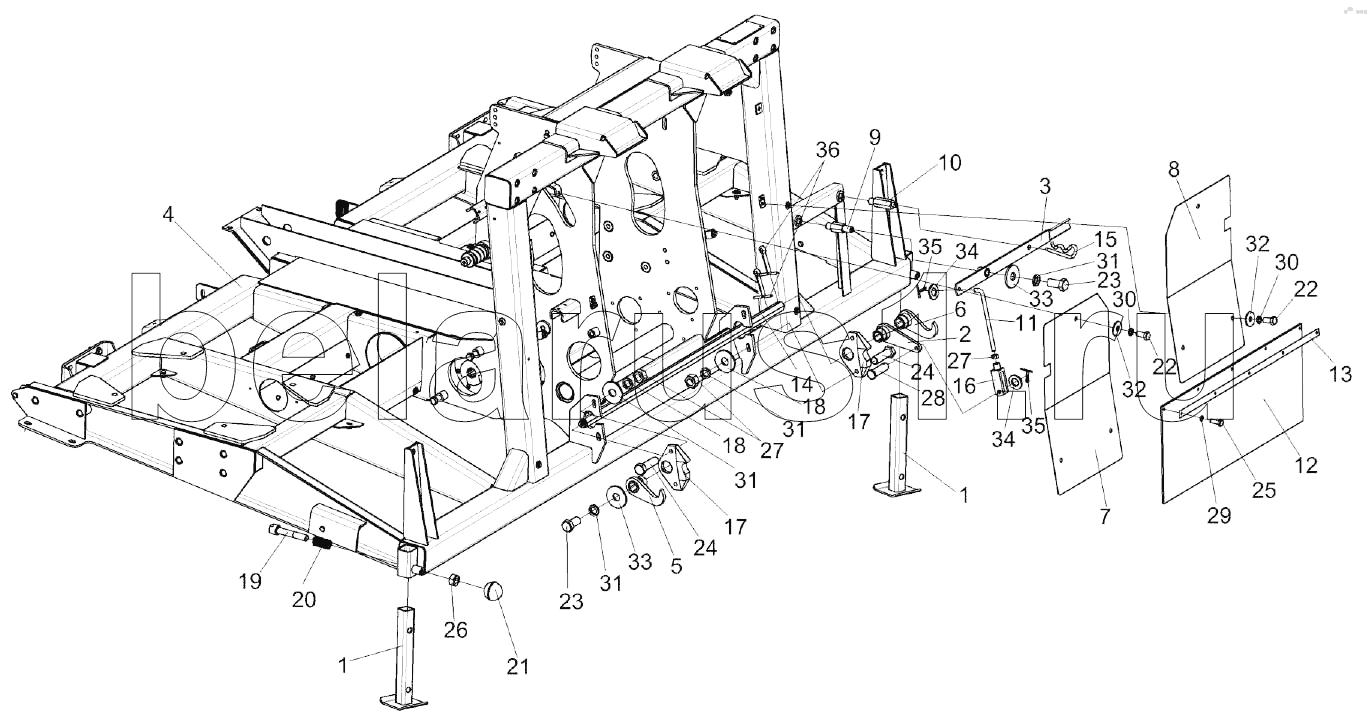
Позиция на иллюстрации | Заводской номер детали | Название детали | |
---|---|---|---|
ЖГР-3-0200010 | ЖГР-3-0200010 | Жатка для грубостебельных культур | |
ЖГР-3-0200010-02 | ЖГР-3-0200010-02 | Жатка для грубостебельных культур | |
1 | ЖГР-2-0200280 | Стойка | |
2 | ЖГР-2-0200330 | Рычаг | |
3 | ЖГР-2-0200350 | Рукоятка | |
4 | ЖГР-3-0201010 | Рама главная | |
4 | ЖГР-3-0201010-01 | Рама главная | |
5 | КВС-1-3918000 | Крюк | |
6 | КВС-1-3918000-01 | Крюк | |
7 | ЖГР-2-0200464 | Панель | |
8 | ЖГР-2-0200464-01 | Панель | |
9 | ЖГР-2-0200611 | Ось | |
10 | ЖГР-2-0200612 | Палец | |
11 | ЖГР-2-0200621 | Тяга | |
12 | ЖГР-3-0200031 | Фартук | |
13 | ЖГР-3-0200457 | Планка | |
14 | ЖГР-3-0200619 | Вал фиксатора | |
15 | ЖКЛ0000609 | Шплинт | |
16 | КВС0550611 | Вилка | |
17 | КВС-1-3900603 | Ловитель | |
18 | КЗР0103439 | Шайба | |
19 | ПКК0201629 | Фиксатор | |
20 | ПКК0201634 | Пружина | |
21 | Н.067.044 | Ручка П302Д61-16-77 | |
22 | БолтМ8-6eх16-7796 | Болт М8-6eх16-7796 | |
23 | БолтМ12-6eх25-7796 | Болт М12-6eх25-7796 | |
24 | БолтМ12-6eх40-7796 | Болт М12-6eх40-7796 | |
25 | БолтМ6-6eх16-7798 | Болт М6-6eх16-7798 | |
26 | ГайкаМ10-6G-5915 | Гайка М10-6G-5915 | |
27 | ГайкаМ12-6G-5915 | Гайка М12-6G-5915 | |
28 | Ось6-12b12х40-9650 | Ось 6-12 b12х40-9650 | |
29 | Шайба6Т65Г-6402 | Шайба 6Т.65Г-6402 | |
30 | Шайба8Т65Г-6402 | Шайба 8Т.65Г-6402 | |
31 | Шайба12Т65Г-6402 | Шайба 12Т.65Г-6402 | |
32 | ШайбаС8.01-6958 | Шайба С8.01-6958 | |
33 | ШайбаС12.01-6958 | Шайба С12.01-6958 | |
34 | ШайбаC.12.01-11371 | Шайба C.12.01-11371 | |
35 | Шплинт3,2х20-397 | Шплинт 3,2х20-397 | |
36 | Шплинт6,3х45-397 | Шплинт 6,3х45-397 |
Содержащиеся в справочниках-каталогах запасные части и детали не предлагаются к продаже, а носят исключительно информационный характер