Каталог запасных частей к технике: KRONE BIG-M-I. Box
/68.gif)
1
2
2
2
2
2
2
2
3
3
3
3
3
3
4
4
4
4
4
4
4
4
5
6
6
7
7
8
8
9
9
9
10
10
10
10
11
11
12
12
13
14
15
15
15
15
16
17
18
19
20
21
22
23
24
25
26
27
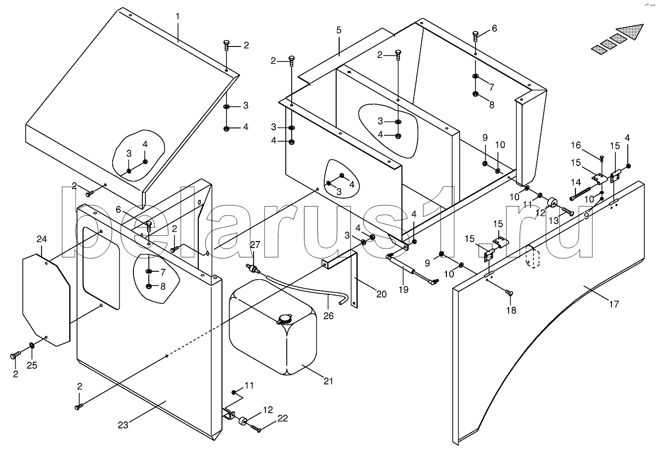
Позиция на иллюстрации | Заводской номер детали | Название детали | |
---|---|---|---|
1 | 002306490 | Guard plate | |
2 | 009006140 | Hex head bolt | |
3 | 009104130 | Washer | |
4 | 009087060 | Locknut | |
5 | 002305020 | Stowage box-front | |
6 | 009006340 | Hex head bolt | |
7 | 009104140 | Washer | |
8 | 009087580 | Locknut | |
9 | 009087041 | Locknut | |
10 | 009104111 | Washer | |
11 | 009082080 | Hex nut | |
12 | 003354822 | Ruber grommet | |
13 | 009052150 | Coach bolt | |
14 | 009030890 | Allen screw | |
15 | 002743754 | Hinge | |
16 | 009006070 | Hex head bolt | |
17 | 002305010 | Flap | |
18 | 009052101 | Coach bolt | |
19 | 009385610 | Gas spring | |
20 | 002305130 | Clamping strap | |
21 | 002294030 | Tank for windscreen washer | |
22 | 009052111 | Coach bolt | |
23 | 002305100 | Stowage box-back | |
24 | 002308810 | Maintenance door | |
25 | 009099081 | Detent edged washer | |
26 | 009385640 | Hose-Id.-no.= 1m | |
27 | 009385650 | Non-return valve |
Содержащиеся в справочниках-каталогах запасные части и детали не предлагаются к продаже, а носят исключительно информационный характер