Каталог запасных частей к технике: KRONE BIG-X-500. Discharge chute extension 12-row

1
1
2
2
3
3
4
5
5
5
6
6
7
7
8
9
10
11
11
12
12
13
14
14
15
16
17
18
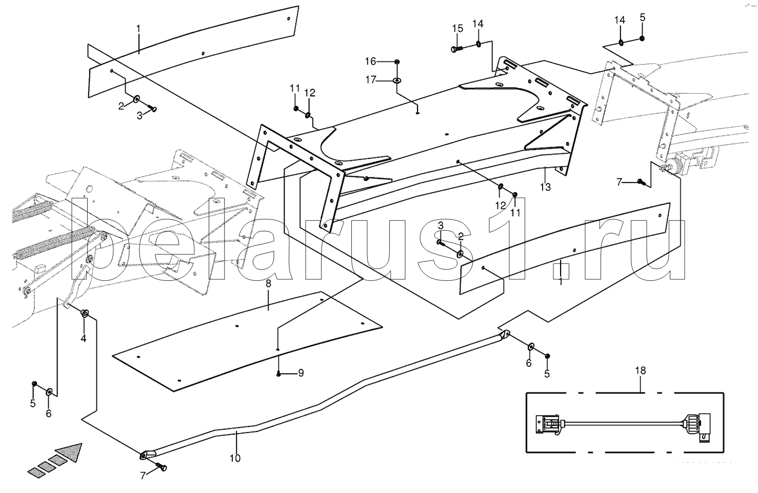
Позиция на иллюстрации | Заводской номер детали | Название детали | |
---|---|---|---|
1 | 002196853 | Wearing plate | |
2 | 009106030 | Washer | |
3 | 009052301 | Coach bolt | |
4 | 002225642 | Bushing | |
5 | 009087580 | Locknut | |
6 | 009104140 | Washer | |
7 | 009006380 | Hex head bolt | |
8 | 002196842 | Wearing plate | |
9 | 009040051 | Countersunkscrew | |
10 | 002196864 | Drawbar | |
11 | 009082100 | Hex nut | |
12 | 009099081 | Detent edged washer | |
13 | 002196793 | Extension-12 rows | |
14 | 009099091 | Detent edged washer | |
15 | 009006360 | Hex head bolt | |
16 | 009087041 | Locknut | |
17 | 009104111 | Washer | |
18 | 003031872 | Wiring harness-chute extension |
Содержащиеся в справочниках-каталогах запасные части и детали не предлагаются к продаже, а носят исключительно информационный характер