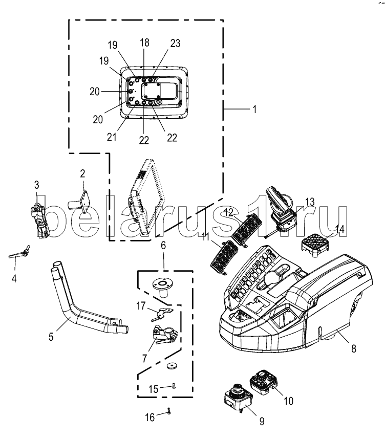
Каталог запасных частей к технике: KRONE BIG-X-580. Cab - terminal / armrest

1
2
3
4
5
6
7
8
9
10
11
12
13
14
15
16
17
18
19
19
20
20
21
22
22
23
Позиция на иллюстрации | Заводской номер детали | Название детали | |
---|---|---|---|
1 | 200826211 | Terminal CCpilot | |
2 | 200169790 | Support terminal top | |
3 | 270143280 | Joint clamp piece | |
4 | 270192400 | Clamping lever | |
5 | 202217060 | Tubular bar terminal support | |
6 | 200165450 | Pivot bearing terminal at console | |
7 | 202237010 | Clamp | |
8 | 202237531 | Krone amrest | |
9 | 202237070 | Operation Main Mode Switch | |
10 | 202237052 | Operation navigation cluster | |
11 | 202237152 | Opteration | |
12 | 202237422 | Operation | |
13 | 270118813 | Control lever | |
14 | 270141371 | Operation Krone twin keypad | |
15 | 009040232 | Countersunkscrew | |
16 | 009030451 | Allen screw | |
17 | 200173210 | Stop sheet | |
18 | 200841480 | Stecker | |
19 | 200841490 | Stecker | |
20 | 200841500 | Stecker | |
21 | 200841510 | Stecker | |
22 | 200841520 | Stecker | |
23 | 200841470 | Stecker |
Содержащиеся в справочниках-каталогах запасные части и детали не предлагаются к продаже, а носят исключительно информационный характер