Каталог запасных частей к технике: KRONE BIG-X-700-1. Аdditional weights

1
2
3
3
4
4
4
4
5
5
6
6
6
6
7
8
8
9
10
10
11
11
12
13
14
15
15
16
16
17
17
18
19
19
20
21
22
22
22
22
22
22
22
23
24
25
26
27
28
29
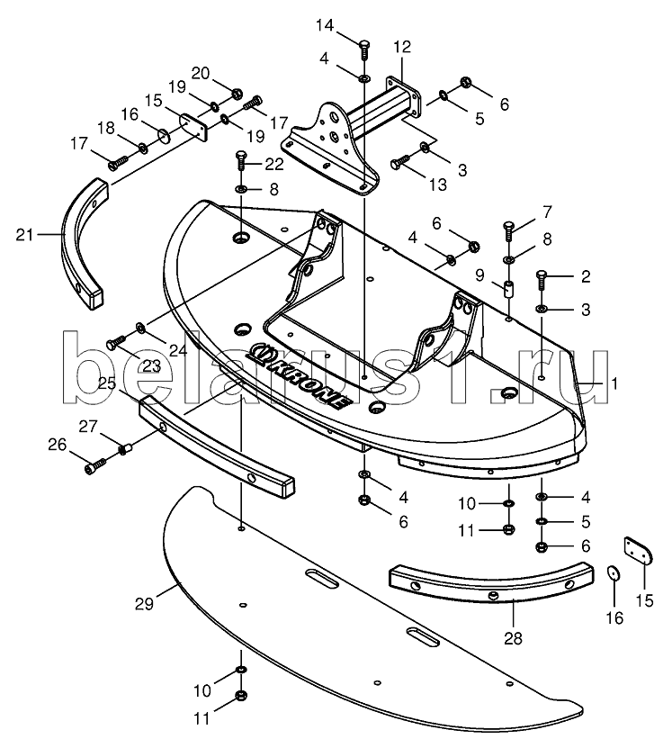
Позиция на иллюстрации | Заводской номер детали | Название детали | |
---|---|---|---|
1 | 200280310 | Rear weight | |
2 | 009003451 | Hex head bolt | |
3 | 009103031 | Washer | |
4 | 009103270 | Washer | |
5 | 009099121 | Detent edged washer | |
6 | 009087190 | Locknut | |
7 | 009010560 | Hex head bolt | |
8 | 009105122 | Washer | |
9 | 200213700 | Spacer tube | |
10 | 009099131 | Detent edged washer | |
11 | 009087210 | Locknut | |
12 | 200279670 | Support | |
13 | 009011321 | Hex head bolt | |
14 | 009014830 | Hex head bolt | |
15 | 200280280 | Support | |
16 | 009245351 | Rear reflector-red | |
17 | 009034791 | Allen screw | |
18 | 009103511 | Washer | |
19 | 009099061 | Detent edged washer | |
20 | 009087041 | Locknut | |
21 | 200280260 | Rubber pad -right | |
22 | 900019640 | Нeх head bolt | |
22 | 900017810 | Нeх head bolt | |
22 | 900019650 | Нeх head bolt | |
22 | 009012201 | Нeх head bolt | |
23 | 009002260 | Hex head bolt | |
24 | 009103780 | Washer | |
25 | 200280250 | Rubber pad -middle | |
26 | 900017800 | Allen screw | |
27 | 200287980 | Bushing | |
28 | 200280270 | Rubber pad -left | |
29 | 200280240 | Weight plate |
Содержащиеся в справочниках-каталогах запасные части и детали не предлагаются к продаже, а носят исключительно информационный характер