Каталог запасных частей к технике: KRONE EColl.6000-7500-9000-6000CL/JD. Frame/Knife

1
1
1
1
1
1
2
2
2
2
3
4
4
4
5
6
6
6
7
7
8
8
8
8
9
10
10
10
11
11
11
11
12
13
14
15
16
17
18
19
20
21
21
22
23
23
23
23
24
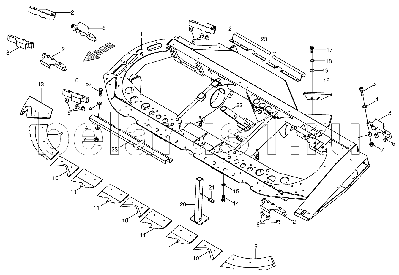
Позиция на иллюстрации | Заводской номер детали | Название детали | |
---|---|---|---|
009008160 | 009008160 | Hex head bolt | |
003523143 | 003523143 | Bow cutter-inside right | |
003523133 | 003523133 | Bow cutter-inside left | |
009008150 | 009008150 | Hex head bolt | |
003523282 | 003523282 | Position adapter-2 | |
009031181 | 009031181 | Allen screw | |
1 | 003533100 | Frame-left | |
1 | 003533150 | Frame-right | |
1 | 003533110 | Frame-right | |
1 | 003533120 | Frame-left | |
1 | 003533140 | Frame-left | |
1 | 003533130 | Frame-right | |
2 | 003523251 | Spotter block 1 | |
3 | 003523272 | Position adapter-1 | |
4 | 009104140 | Washer | |
5 | 003523240 | Spacer | |
6 | 003523230 | Spacer tube | |
7 | 009087580 | Locknut | |
8 | 003523261 | Spotter block 2 | |
9 | 003523086 | Knife-right | |
9 | 003523076 | Knife-left | |
10 | 003523094 | Spike cutter | |
11 | 003523054 | Ladder cutter-left | |
12 | 003523065 | Ladder cutter-right | |
13 | 003523113 | V-Knife-left | |
14 | 003523103 | V-Knife-right | |
15 | 009099091 | Detent edged washer | |
16 | 003523123 | Knife | |
17 | 009006760 | Hex head bolt | |
18 | 009099121 | Detent edged washer | |
19 | 009103620 | Washer | |
20 | 003527911 | Supporting leg-front | |
21 | 009170050 | Spring stick bolt | |
22 | 003527903 | Supporting leg-back | |
23 | 003524213 | Angle plate-total machine | |
23 | 003524203 | Angle plate-total machine | |
23 | 003524223 | Angle plate-total machine | |
24 | 009006360 | Hex head bolt |
Содержащиеся в справочниках-каталогах запасные части и детали не предлагаются к продаже, а носят исключительно информационный характер