Каталог запасных частей к технике: КЗК Енисей 1200М. Схема передач правой стороны

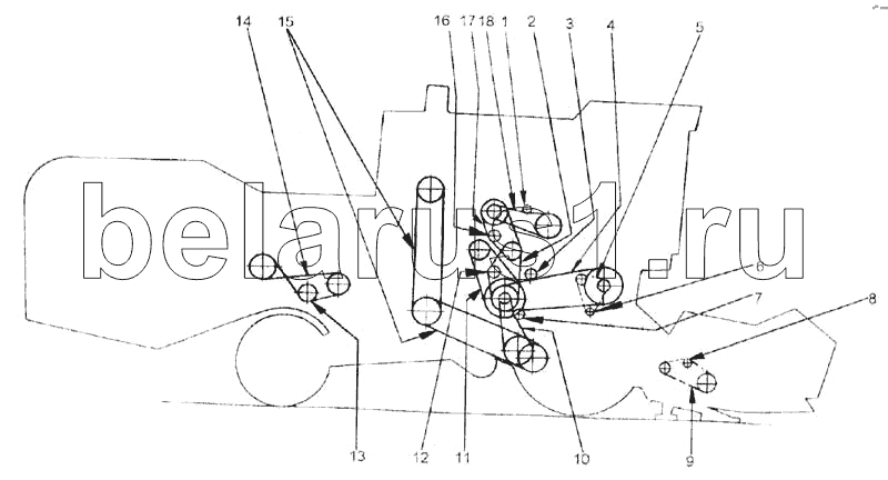
1
2
3
4
5
6
7
8
9
10
11
12
13
14
14
15
16
17
18
Позиция на иллюстрации | Заводской номер детали | Название детали | |
---|---|---|---|
1 | 54-1-2-30 | Звездочка обводная | |
2 | Цепь ПР25,4-6000 п=64 зв | Цепь ПР25,4-6000 п=64 зв | |
3 | 54-1-20-30 | Звездочка обводная | |
4 | Цепь ПР 19,05-3180 п=120 зв | Цепь ПР 19,05-3180 п=120 зв | |
5 | Цепь ПР 19,05-3180 116 зв | Цепь ПР 19,05-3180 116 зв | |
6 | Звездочка натяжная | Звездочка натяжная | |
7 | Цепь ПР 19,05-3180 п=108 зв | Цепь ПР 19,05-3180 п=108 зв | |
8 | Ремень 28х16-1450 | Ремень 28х16-1450 | |
9 | Цепь ПР 25,4-6000 п=104 зв | Цепь ПР 25,4-6000 п=104 зв | |
10 | 00167-А | Ремень клиновой специальный | |
11 | Ремень С(В)-3750IVПСХ | Ремень С(В)-3750IVПСХ | |
12 | Цепь ПР 19,05-3180 54 зв | Цепь ПР 19,05-3180 54 зв | |
13 | 34-2-41-11 | Звездочка натяжная | |
14 | КДМ-2-22-6-А | Цепь зернового элеватора | |
14 | 08.140.000 | Цепь зернового элеватора | |
15 | Цепь ПР 19,05-3180 47 зв | Цепь ПР 19,05-3180 47 зв | |
16 | Цепь ПР 19,05-3180 120 зв | Цепь ПР 19,05-3180 120 зв | |
17 | Ремень С(В)-4750IVПСХ | Ремень С(В)-4750IVПСХ | |
18 | КДМ-3-19 | Шкив натяжной | |
19 | Цепь ПР 19,05-3180 58 зв | Цепь ПР 19,05-3180 58 зв | |
20 | КДМ-2-188 | Звездочка натяжная | |
21 | КДМ-2-23-5-Б | Цепь колосового элеватора | |
21 | 08.140.000-01 | Цепь колосового элеватора | |
22 | КДМ-2-75-А | Шкив натяжной | |
23 | Ремень Д( Г)-5300IVПСХ | Ремень Д( Г)-5300IVПСХ | |
24 | Ремень С(В)-3750IVПСХ | Ремень С(В)-3750IVПСХ | |
25 | Цепь ПР 19,05-3180 88 зв | Цепь ПР 19,05-3180 88 зв | |
26 | Ремень Д(Г)-4500IVПСХ | Ремень Д(Г)-4500IVПСХ | |
27 | КД2-142 | Шкив натяжной | |
28 | 44-0-23-2-А | Звездочка натяжная | |
29 | Цепь ПР19,05-3180 42 зв | Цепь ПР19,05-3180 42 зв | |
30 | Ремень С-2120Т | Ремень С-2120Т | |
31 | 34-2-42Б | Шкив натяжной контрпривода | |
32 | КДМ2-108 | Шкив натяжной | |
33 | КДМ-2-88 | Звездочка натяжная | |
34 | Ремень 28х16-1450 | Ремень 28х16-1450 |
Содержащиеся в справочниках-каталогах запасные части и детали не предлагаются к продаже, а носят исключительно информационный характер