Каталог запасных частей к технике: КЗК Енисей 1200М. Установка моторная (236-3)
1
2
3
3
4
4
5
5
6
6
7
8
9
10
10
11
12
13
14
15
16
17
18
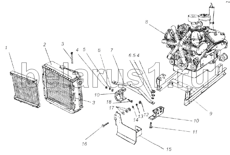
| Позиция на иллюстрации | Заводской номер детали | Название детали | |
|---|---|---|---|
| 1 | 100У.08.002 | Радиатор масляной | |
| 2 | 150У.13.010-3.4 | Радиатор водяной | |
| 3 | КДМ-6369-02 | Ось петли | |
| 4 | М10 | Гайка | |
| 5 | 10 | Шайба | |
| 6 | 10 | Шайба | |
| 7 | 236-3-35 | Успокоитель верхний | |
| 8 | ЯМЗ-236-ДК-2 | Дизель | |
| 9 | 236-3-1 | Рама подмоторная | |
| 10 | 236-3-5 | Кронштейн | |
| 11 | М10х25 | Болт | |
| 12 | М12х6 | Гайка | |
| 13 | 12.65Г | Шайба | |
| 14 | 12.02 | Шайба | |
| 15 | 236-3-11 | Успокоитель нижний | |
| 16 | М12х35 | Болт | |
| 17 | КДМ-4150 | Шайба | |
| 18 | М10х25 | Болт |
Содержащиеся в справочниках-каталогах запасные части и детали не предлагаются к продаже, а носят исключительно информационный характер