Каталог запасных частей к технике: Lemken EuroDiamant 8. Lighting equipment with boards HR+HL7m

1
2
3
4
5
6
6
7
8
9
10
10
11
12
13
14
15
15
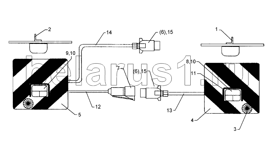
Позиция на иллюстрации | Заводской номер детали | Название детали | |
---|---|---|---|
1 | 321 5012 | Plug-on unit | |
2 | 321 5013 | Plug-on unit | |
3 | 321 9917 | Reflector | |
4 | 321 9934 | Warning board | |
5 | 321 9935 | Warning board | |
6 | 373 2121 | Plug | |
7 | 373 2140 | Connector socket | |
8 | 373 3130 | Rear light, RH | |
9 | 373 3133 | Rear light, LH | |
10 | 373 3526 | Light glas | |
11 | 373 3801 | Rear cover | |
12 | 373 4136 | Cable, yellow | |
13 | 373 4137 | Cable, green | |
14 | 373 4140 | Cable | |
15 | 373 2124 | Plug |
Содержащиеся в справочниках-каталогах запасные части и детали не предлагаются к продаже, а носят исключительно информационный характер