Каталог запасных частей к технике: Lemken EuroGranat 5. Adjustment centre E-45/550
1
2
3
4
5
5
6
6
7
9
10
11
12
12
13
14
15
15
16
17
18
19
20
21
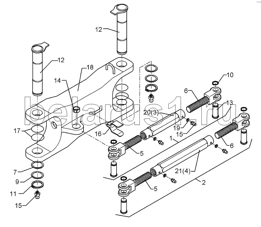
| Позиция на иллюстрации | Заводской номер детали | Название детали | |
|---|---|---|---|
| 1 | 302 8714 | Turnbuckle | |
| 2 | 302 8720 | Turnbuckle | |
| 3 | 302 8895 | Threaded sleeve | |
| 4 | 302 8898 | Threaded sleeve | |
| 5 | 302 8990 | Forkpiece | |
| 6 | 302 8991 | Forkpiece | |
| 7 | 305 2125 | Shim | |
| 9 | 305 2252 | Supporting washer | |
| 10 | 305 8861 | Securing ring | |
| 11 | 305 8876 | Securing ring | |
| 12 | 313 5029 | Pin with stop | |
| 13 | 313 2514 | Pin | |
| 14 | 317 3408 | Expansion bush | |
| 15 | 323 6348 | Grease nipple | |
| 16 | 329 1792 | U-spring | |
| 17 | 375 1255 | O-ring | |
| 18 | 434 3098 | Link | |
| 19 | 305 6130 | Washer | |
| 20 | 302 8780 | Threaded sleeve | |
| 21 | 302 8782 | Threaded sleeve |
Содержащиеся в справочниках-каталогах запасные части и детали не предлагаются к продаже, а носят исключительно информационный характер