Каталог запасных частей к технике: Lemken EurOpal 5HX. Adjustment centre E-45/550

1
2
3
4
5
5
6
6
7
9
10
11
12
12
13
14
15
15
16
17
18
19
20
21
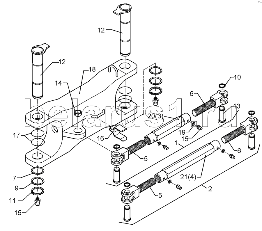
Позиция на иллюстрации | Заводской номер детали | Название детали | |
---|---|---|---|
1 | 302 8714 | Turnbuckle | |
2 | 302 8720 | Turnbuckle | |
3 | 302 8895 | Threaded sleeve | |
4 | 302 8898 | Threaded sleeve | |
5 | 302 8990 | Forkpiece | |
6 | 302 8991 | Forkpiece | |
7 | 305 2125 | Shim | |
9 | 305 2252 | Supporting washer | |
10 | 305 8861 | Securing ring | |
11 | 305 8876 | Securing ring | |
12 | 313 5029 | Pin with stop | |
13 | 313 2514 | Pin | |
14 | 317 3408 | Expansion bush | |
15 | 323 6348 | Grease nipple | |
16 | 329 1792 | U-spring | |
17 | 375 1255 | O-ring | |
18 | 434 3098 | Link | |
19 | 305 6130 | Washer | |
20 | 302 8780 | Threaded sleeve | |
21 | 302 8782 | Threaded sleeve |
Содержащиеся в справочниках-каталогах запасные части и детали не предлагаются к продаже, а носят исключительно информационный характер