Каталог запасных частей к технике: Lemken EurOpal 7X. Basic frame E7X-120-3-900

1
1
2
3
4
5
6
7
8
9
10
11
12
12
13
14
14
14
15
15
15
16
16
17
17
18
19
20
20
21
22
23
23
24
24
25
26
27
28
29
29
30
31
31
32
33
34
35
36
36
37
38
39
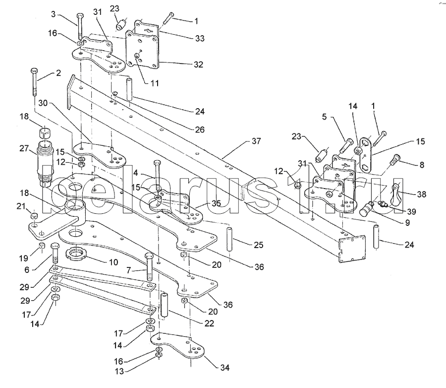
Позиция на иллюстрации | Заводской номер детали | Название детали | |
---|---|---|---|
1 | 301 3431 | Bolt | |
2 | 301 4522 | Bolt | |
3 | 301 4523 | Bolt | |
4 | 301 4539 | Bolt | |
5 | 301 4607 | Bolt | |
6 | 301 4646 | Bolt | |
7 | 301 4802 | Bolt | |
8 | 301 8220 | Bolt | |
9 | 301 8221 | Bolt | |
10 | 303 0341 | Grooved nut | |
11 | 303 0934 | Selflocking nut | |
12 | 303 0936 | Selflocking nut | |
13 | 303 0977 | Nut | |
14 | 303 0980 | Nut | |
15 | 305 1340 | Locking plate | |
16 | 305 9888 | Spring ring | |
17 | 305 9889 | Spring ring | |
18 | 317 2025 | Expansion bush | |
19 | 317 3404 | Expansion bush | |
20 | 317 3406 | Expansion bush | |
21 | 317 3417 | Expansion bush | |
22 | 317 6655 | Tube | |
23 | 317 7505 | Bushing | |
24 | 317 7515 | Bushing | |
25 | 317 7511 | Tube | |
26 | 323 8071 | Cap | |
27 | 402 1282 | Lagerrohr | |
28 | 402 1722 | Rocker arm | |
29 | 402 1800 | Support | |
30 | 402 2550 | Adjusting bracket | |
31 | 402 2551 | Adjusting bracket | |
32 | 402 2552 | Plate for beam | |
33 | 402 2553 | Plate for beam | |
34 | 402 2554 | Adjusting bracket | |
35 | 402 2555 | Adjusting bracket | |
36 | 402 2861 | Bearing plate | |
37 | 402 8243 | Basic frame | |
38 | 426 0461 | End stop | |
39 | 323 6348 | Grease nipple |
Содержащиеся в справочниках-каталогах запасные части и детали не предлагаются к продаже, а носят исключительно информационный характер