Каталог запасных частей к технике: Lemken EurOpal 8. Basic frame E8-140-4-1000

1
2
2
3
3
4
5
6
7
8
8
9
10
10
11
11
12
13
13
13
13
14
14
15
16
17
17
18
19
20
20
21
22
23
24
25
26
26
27
27
28
29
29
30
31
32
32
33
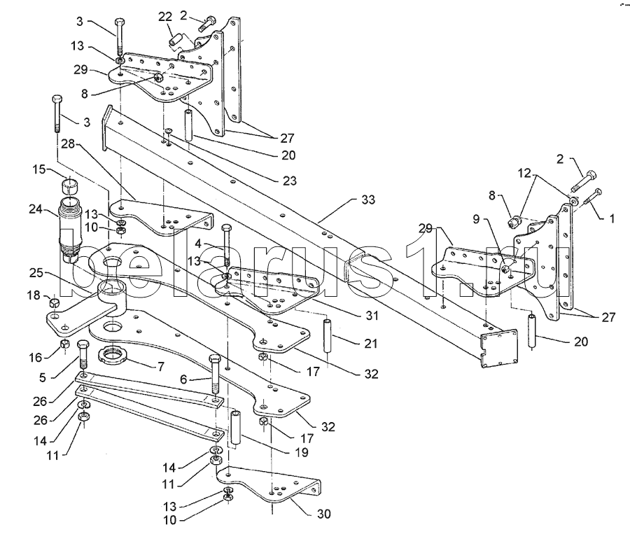
Позиция на иллюстрации | Заводской номер детали | Название детали | |
---|---|---|---|
1 | 301 3424 | Bolt | |
2 | 301 4370 | Bolt | |
3 | 301 4539 | Bolt | |
4 | 301 4542 | Bolt | |
5 | 301 4646 | Bolt | |
6 | 301 4811 | Bolt | |
7 | 303 0375 | Grooved nut | |
8 | 303 0936 | Selflocking nut | |
9 | 303 0972 | Nut | |
10 | 303 0977 | Nut | |
11 | 303 0980 | Nut | |
12 | 305 6164 | Washer | |
13 | 305 9888 | Spring ring | |
14 | 305 9889 | Spring ring | |
15 | 317 2035 | Expansion bush | |
16 | 317 3404 | Expansion bush | |
17 | 317 3406 | Expansion bush | |
18 | 317 3417 | Expansion bush | |
19 | 317 6660 | Tube | |
20 | 317 7511 | Tube | |
21 | 317 7512 | Tube | |
22 | 317 6944 | Tube | |
23 | 323 8071 | Cap | |
24 | 402 1283 | Bearing tube | |
25 | 402 1725 | Rocker arm | |
26 | 402 1803 | Support | |
27 | 402 2570 | Stalk plate | |
28 | 402 2556 | Adjusting bracket | |
29 | 402 2557 | Adjusting bracket | |
30 | 402 2558 | Adjusting bracket | |
31 | 402 2559 | Adjusting bracket | |
32 | 402 2870 | Bearing plate | |
33 | 402 8275 | Basic frame |
Содержащиеся в справочниках-каталогах запасные части и детали не предлагаются к продаже, а носят исключительно информационный характер