Каталог запасных частей к технике: Lemken EurOpal 9. Turnover mechanism E120

1
2
3
4
4
5
6
7
8
8
8
9
9
10
11
12
13
14
15
16
17
17
18
18
19
20
21
22
23
24
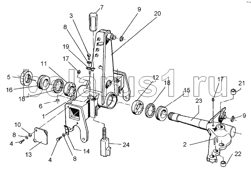
Позиция на иллюстрации | Заводской номер детали | Название детали | |
---|---|---|---|
1 | 215 1588 | Clamp | |
2 | 215 1656 | Clamp | |
3 | 301 5001 | Screw | |
4 | 301 7260 | Screw | |
5 | 303 0348 | Grooved nut | |
6 | 303 0932 | Selflocking nut | |
7 | 303 8960 | Cap nut | |
8 | 305 8694 | Washer | |
9 | 305 8875 | Securing ring | |
10 | 317 6710 | Tube | |
11 | 319 9110 | Bearing | |
12 | 319 9226 | Bearing | |
13 | 323 0002 | Cap | |
14 | 323 0003 | Holder | |
15 | 323 0075 | Seal washer | |
16 | 323 0076 | Seal washer | |
17 | 323 6348 | Grease nipple | |
18 | 323 7983 | Felt ring | |
19 | 329 8620 | Clamp | |
20 | 433 7510 | Headstock | |
21 | 317 2035 | Expansion bush | |
22 | 317 3417 | Expansion bush | |
23 | 433 8115 | Axle | |
24 | 433 9206 | Stop |
Содержащиеся в справочниках-каталогах запасные части и детали не предлагаются к продаже, а носят исключительно информационный характер