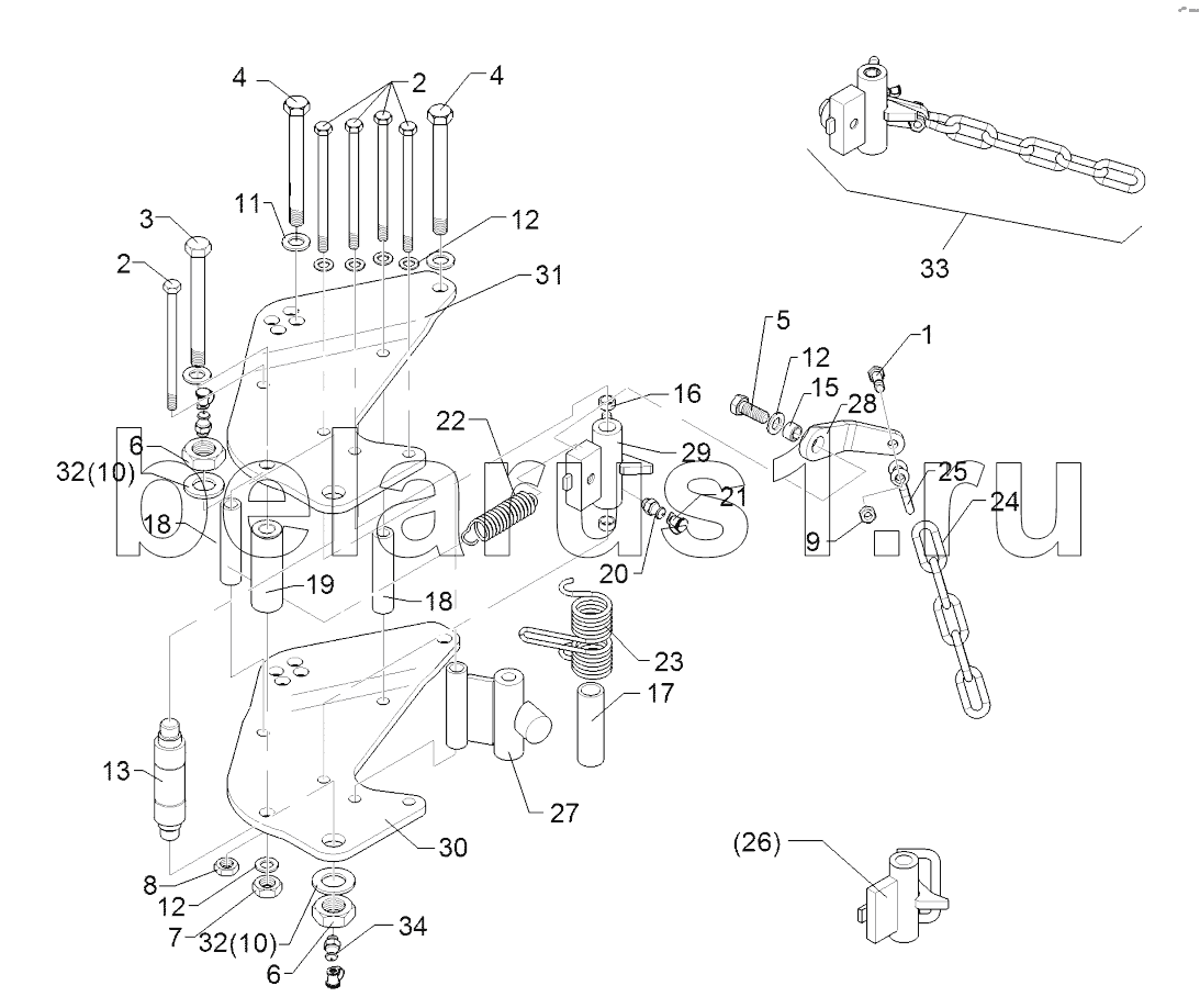
Каталог запасных частей к технике: Lemken Juwel 8M. 5491255 Bracket

1
2
2
3
4
4
5
6
6
7
8
9
10
10
11
12
12
12
13
14
15
16
17
18
18
19
20
21
22
23
24
25
26
27
28
29
30
31
32
32
33
Позиция на иллюстрации | Заводской номер детали | Название детали | |
---|---|---|---|
1 | 301 3367 | Hexagon bolt | |
2 | 301 4121 | Bolt | |
3 | 301 4523 | Bolt | |
4 | 301 4539 | Bolt | |
5 | 301 5404 | Screw | |
6 | 303 0956 | Nut | |
7 | 303 0977 | Nut | |
8 | 303 0990 | Nut | |
9 | 303 1013 | Nut | |
10 | 305 2230 | Supporting washer | |
11 | 305 6012 | Washer | |
12 | 305 6141 | Washer | |
13 | 313 4018 | Pin | |
14 | 317 2005 | Expansion bush | |
15 | 317 3334 | Expansion bush | |
16 | 317 3336 | Expansion bush | |
17 | 317 6660 | Tube | |
18 | 317 6859 | Tube | |
19 | 317 7510 | Tube | |
20 | 323 6348 | Grease nipple | |
21 | 323 6401 | Cap | |
22 | 329 8496 | Spring | |
23 | 329 9041 | Torsion spring | |
24 | 331 6277 | Chain | |
25 | 331 8380 | Shackle | |
26 | 448 2598 | Holder with pivot | |
27 | 448 2605 | Stop | |
28 | 44810015 | Lever | |
29 | 44810016 | Locking device | |
30 | 449 5760 | Plate | |
31 | 449 5761 | Plate | |
32 | 305 6254 | Washer | |
33 | 54810007 | Mounting set |
Содержащиеся в справочниках-каталогах запасные части и детали не предлагаются к продаже, а носят исключительно информационный характер