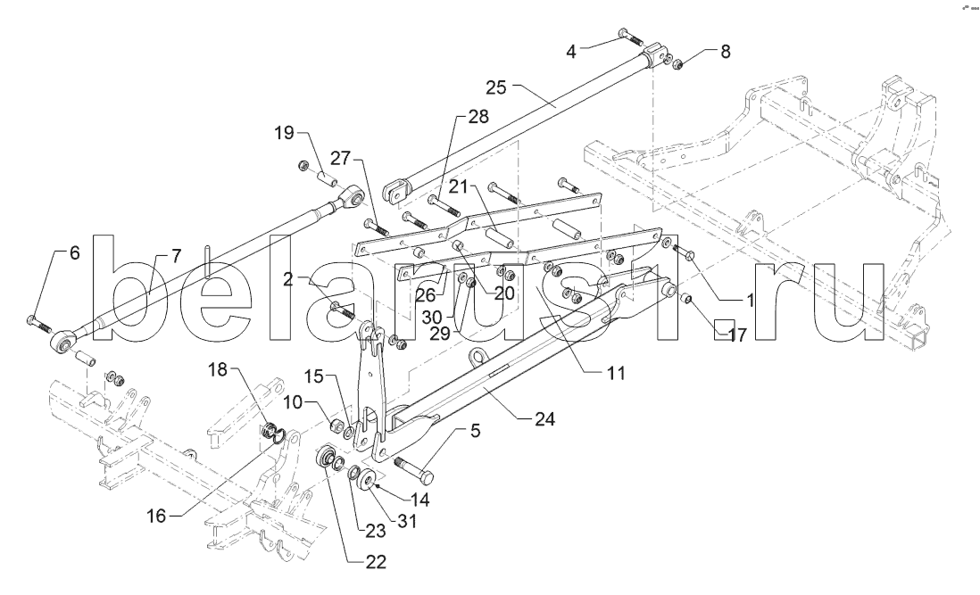
Каталог запасных частей к технике: Lemken Kristall 9/500KA. 6178431 Support linkage

1
2
4
5
7
8
10
11
14
15
16
17
18
19
20
21
22
23
24
25
26
27
28
29
30
31
Позиция на иллюстрации | Заводской номер детали | Название детали | |
---|---|---|---|
1 | 301 4230 | Hexagon bolt | |
2 | 301 4408 | Bolt | |
4 | 301 4603 | Hexagon bolt | |
5 | 301 4723 | Hexagon bolt | |
7 | 302 8660 | Top link | |
8 | 303 0936 | Selflocking nut | |
10 | 303 0938 | Selflocking nut | |
11 | 305 6012 | Washer | |
14 | 323 6348 | Grease nipple | |
15 | 305 6285 | Washer | |
16 | 305 8911 | Securing ring | |
17 | 317 3408 | Expansion bush | |
18 | 317 3455 | Articulated bearing | |
19 | 317 6698 | Tube | |
20 | 317 6980 | Tube | |
21 | 317 6981 | Tube | |
22 | 317 7211 | Bushing | |
23 | 323 8321 | Vulkocell seal | |
24 | 417 8431 | Headstock | |
25 | 417 8445 | Rod | |
26 | 417 8461 | Strut | |
27 | 301 5066 | Bolt | |
28 | 301 5410 | Bolt | |
29 | 303 0935 | Selflocking nut | |
30 | 305 6141 | Washer | |
31 | 317 7214 | Bushing |
Содержащиеся в справочниках-каталогах запасные части и детали не предлагаются к продаже, а носят исключительно информационный характер