Каталог запасных частей к технике: Lemken Primus 10 (Часть 2). R368550 Breaking axle stub
1
3
5
6
7
8
9
10
11
13
14
15
16
17
18
20
22
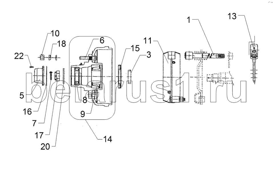
| Позиция на иллюстрации | Заводской номер детали | Название детали | |
|---|---|---|---|
| 1 | R03 1062 | Camshaft | |
| 3 | R03 1004 | Ring | |
| 5 | R03 1005 | Cap | |
| 6 | R03 1063 | Wheel bolt | |
| 7 | R03 1064 | Peg | |
| 8 | R03 1014 | Bearing | |
| 9 | R03 1015 | Inner bearing | |
| 10 | R03 1053 | Nut | |
| 11 | R03 1001 | Brake-shoe with linging | |
| 13 | R03 1065 | Brake lever | |
| 14 | R03 1067 | Drum / hub | |
| 15 | R03 1009 | Radial seal ring | |
| 16 | R03 1068 | Seal | |
| 17 | R03 1010 | Castle nut | |
| 18 | R03 1059 | Ring | |
| 20 | R03 1016 | Washer | |
| 22 | R03 1027 | Pin |
Содержащиеся в справочниках-каталогах запасные части и детали не предлагаются к продаже, а носят исключительно информационный характер