Каталог запасных частей к технике: Lemken Rubin 10/600 KUA. 67710121 Compressed-air brake

1
1
2
2
3
4
5
5
6
7
8
9
10
10
10
11
12
13
13
13
13
13
14
15
15
17
18
18
19
20
21
21
22
22
23
24
25
25
25
25
25
25
26
26
27
28
29
30
32
33
34
35
35
36
37
38
39
40
41
42
43
44
45
46
47
48
49
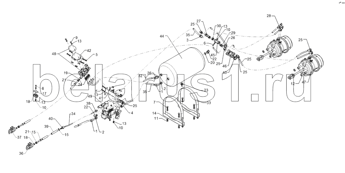
Позиция на иллюстрации | Заводской номер детали | Название детали | |
---|---|---|---|
1 | R00 0713 | Connector | |
2 | R00 0716 | Screwed socket | |
3 | R00 0718 | Connector | |
4 | R00 0719 | Connector | |
5 | 301 3068 | Screw | |
6 | 301 3070 | Bolt | |
7 | 301 5004 | Screw | |
8 | 301 5418 | Bolt | |
9 | 301 6750 | Screw | |
10 | 303 0932 | Selflocking nut | |
11 | 303 0933 | Selflocking nut | |
12 | 305 6141 | Washer | |
13 | 305 8694 | Washer | |
14 | 305 8696 | Washer | |
15 | 325 1145 | Hose clip | |
17 | 375 9986 | Plate | |
18 | 37510217 | Clamp | |
19 | 377 1180 | Thrust ring with O-ring | |
20 | 377 1181 | Thrust ring with O-ring | |
21 | 377 1301 | Hose nipple | |
22 | 377 1341 | Test coupling | |
23 | 377 1380 | Dewatering valve | |
24 | 377 1400 | Push-in connection | |
25 | 377 1409 | Push-in connection | |
26 | 377 1410 | Push-in connection | |
27 | 377 1440 | Push-in connection | |
28 | 377 1450 | Push-in connection | |
29 | 377 1461 | Screwed socket | |
30 | 377 1482 | Reducing fitting | |
31 | 37710042 | Brake hose | |
32 | 377 2070 | Synthetic tube | |
33 | 377 2532 | Strap | |
34 | 37710046 | Synthetic tube | |
35 | 37710048 | Synthetic tube | |
36 | 37710149 | Coupling head brake | |
37 | 37710150 | Coupling head | |
38 | 37710151 | Push-in connection | |
39 | 37710152 | Brake hose | |
40 | 37710155 | Connector | |
41 | 47710062 | Holder | |
42 | 47710064 | Holder | |
43 | 577 2570 | Venting filter | |
44 | 577 2622 | Compressed-air container | |
45 | 577 2660 | 2-port control valve | |
46 | 577 2671 | Quick release valve | |
47 | 57710046 | Membrane-cylinder | |
48 | 57710042 | Release valve | |
49 | 57710043 | Braking force regulator |
Содержащиеся в справочниках-каталогах запасные части и детали не предлагаются к продаже, а носят исключительно информационный характер