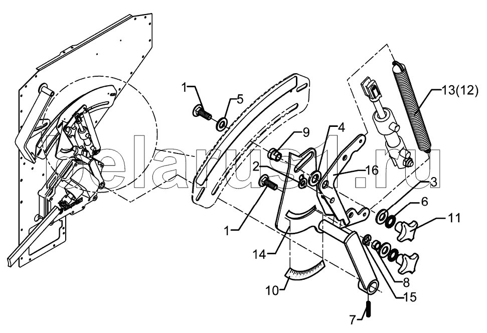
Каталог запасных частей к технике: Lemken Saphir 7/400. Gearbox lever, hydraulic

1
1
2
3
4
5
6
7
8
9
10
11
12
13
14
15
16
Позиция на иллюстрации | Заводской номер детали | Название детали | |
---|---|---|---|
1 | 301 1713 | Bolt, cup square head | |
2 | 305 6110 | Washer | |
3 | 305 6132 | Washer | |
4 | 305 6148 | Shim | |
5 | 305 8580 | Washer | |
6 | 305 9964 | Washer | |
7 | 309 6050 | Expansion bush | |
8 | 317 7583 | Bush | |
9 | 317 9474 | Flange bushing | |
10 | 321 1205 | Scale | |
11 | 321 2576 | Star grip | |
12 | 329 8503 | Spring | |
13 | 329 8504 | Spring | |
14 | 481 1582 | Gearbox lever | |
15 | 481 1583 | Indicator | |
16 | 481 1584 | Lever |
Содержащиеся в справочниках-каталогах запасные части и детали не предлагаются к продаже, а носят исключительно информационный характер