Каталог запасных частей к технике: Lemken Saphir 7/400. Monitor LH1600-V

1
2
3
4
5
6
7
8
9
10
11
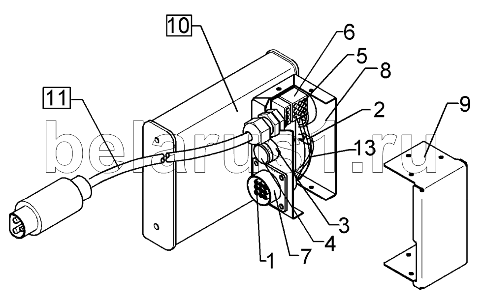
Позиция на иллюстрации | Заводской номер детали | Название детали | |
---|---|---|---|
1 | 373 0301 | Bush contact | |
2 | 373 1290 | Protection diode | |
3 | 373 1301 | Safety fuse | |
4 | 373 1361 | Protection cap | |
5 | 373 2110 | Soldering pin | |
6 | 373 2154 | Plug for LH 1600 | |
7 | 373 2169 | Flanged bush | |
8 | 473 8070 | Box for monitor | |
9 | 473 8053 | Cover | |
10 | 573 5010 | Monitor | |
11 | 573 4427 | Cable G tractor connection | |
12 | 373 1307 | Safety fuse | |
14 | 373 1362 | Protection carrier |
Содержащиеся в справочниках-каталогах запасные части и детали не предлагаются к продаже, а носят исключительно информационный характер