Каталог запасных частей к технике: Lemken Solitair 8/300. Cyclone D230-800 Solitair-S

1
2
3
4
6
6
6
7
8
9
9
10
11
12
13
14
15
16
17
18
20
21
22
23
24
25
26
27
28
29
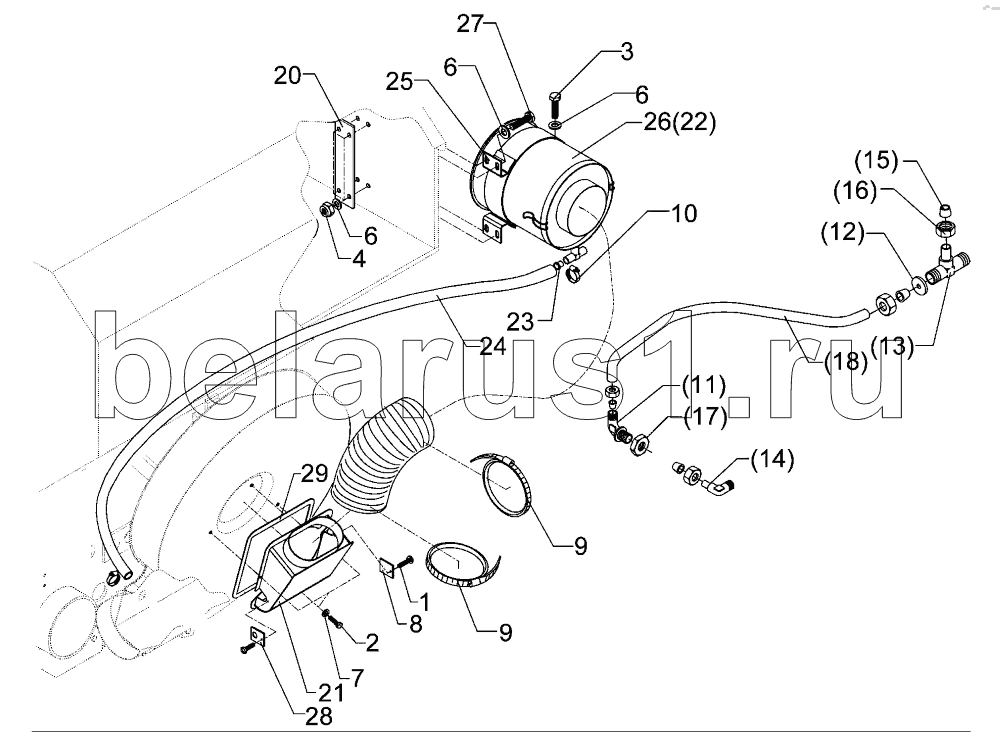
Позиция на иллюстрации | Заводской номер детали | Название детали | |
---|---|---|---|
1 | 301 0051 | Self-tapping screw | |
2 | 301 0301 | Flatheaded bolt | |
3 | 301 5009 | Screw | |
4 | 303 1012 | Nut | |
6 | 305 6132 | Washer | |
7 | 305 8571 | Washer | |
8 | 323 6515 | Cover | |
9 | 325 1188 | Hose clip | |
10 | 325 1182 | Hose clip | |
11 | 375 4400 | Angle union | |
12 | 375 2520 | Throttle plate | |
13 | 375 4490 | T-adjustable T-union | |
14 | 375 4500 | Adjustable angle union | |
15 | 375 5110 | Cutting ring | |
16 | 375 5310 | Union nut | |
17 | 375 5700 | Nut | |
18 | 377 2070 | Synthetic tube | |
19 | 377 4122 | Flexible hose | |
20 | 459 4535 | Clamping plate | |
21 | 482 5706 | Air intake fitting, fan | |
22 | 582 5670 | Cyclone | |
23 | 317 9472 | Flange bushing | |
24 | 377 3993 | Flexible hose | |
25 | 482 5674 | Clamp | |
26 | 582 5673 | Cyclone with cover | |
27 | 301 5004 | Screw | |
28 | 323 6516 | Cover | |
29 | 323 6517 | Seal stripe |
Содержащиеся в справочниках-каталогах запасные части и детали не предлагаются к продаже, а носят исключительно информационный характер