Каталог запасных частей к технике: Lemken Solitair 8/300. Swinging arm

1
2
3
4
4
5
5
6
7
8
8
8
8
9
9
10
10
11
11
12
13
14
15
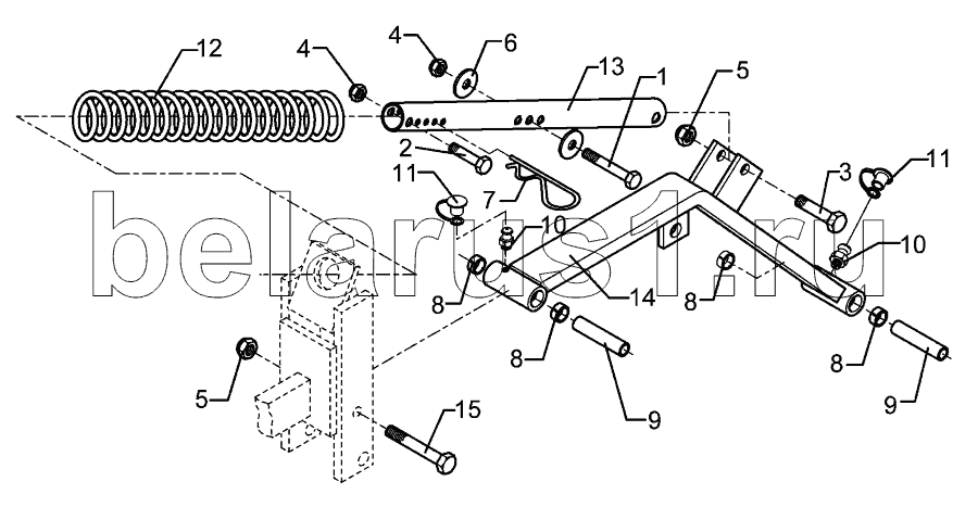
Позиция на иллюстрации | Заводской номер детали | Название детали | |
---|---|---|---|
1 | 301 3266 | Bolt | |
2 | 301 5424 | Bolt | |
3 | 301 5452 | Bolt | |
4 | 303 0933 | Selflocking nut | |
5 | 303 0934 | Selflocking nut | |
6 | 305 6976 | Washer | |
7 | 311 8606 | Spring pin | |
8 | 317 3299 | Bush | |
9 | 317 5264 | Bush | |
10 | 323 6345 | Grease nipple | |
11 | 323 6401 | Cap | |
12 | 329 8245 | Spring | |
13 | 482 2725 | Guiding | |
14 | 482 2727 | Swinging arm | |
15 | 301 3470 | Bolt |
Содержащиеся в справочниках-каталогах запасные части и детали не предлагаются к продаже, а носят исключительно информационный характер