Каталог запасных частей к технике: Lemken Solitair 9/500K. Suffolk coulter Saphir 7

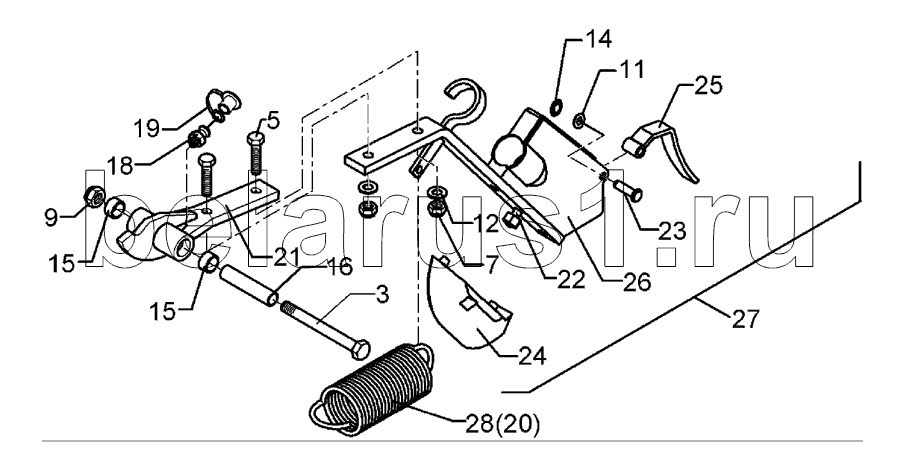
3
5
7
9
11
12
14
15
15
16
18
19
20
21
22
23
24
25
26
27
28
Позиция на иллюстрации | Заводской номер детали | Название детали | |
---|---|---|---|
3 | 301 3470 | Bolt | |
5 | 301 7308 | Screw | |
7 | 303 0933 | Selflocking nut | |
9 | 303 0934 | Selflocking nut | |
11 | 305 8694 | Washer | |
12 | 305 8696 | Washer | |
14 | 305 8844 | Washer | |
15 | 317 3299 | Bush | |
16 | 317 5264 | Bush | |
18 | 323 6345 | Grease nipple | |
19 | 323 6401 | Cap | |
20 | 329 8516 | Spring | |
21 | 481 6040 | Flat steel | |
22 | 301 5809 | Allen screw | |
23 | 315 8025 | Rivet | |
24 | 337 8099 | Point | |
25 | 481 8527 | Flap | |
26 | 482 6042 | Suffolk coulter | |
27 | 582 6042 | Suffolk coulter | |
28 | 329 8521 | Spring |
Содержащиеся в справочниках-каталогах запасные части и детали не предлагаются к продаже, а носят исключительно информационный характер