Каталог запасных частей к технике: Lemken Solitair 9/500K. Support Solitair

1
2
2
2
2
3
3
3
4
4
4
4
4
4
4
4
5
5
5
5
6
6
6
6
6
6
6
6
7
7
7
7
7
7
7
8
9
10
10
11
11
12
13
13
14
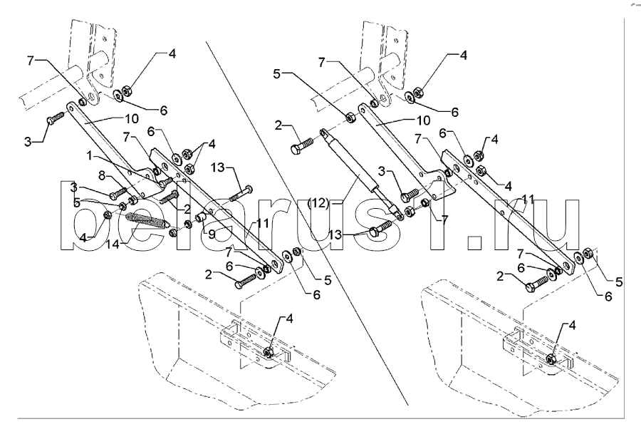
Позиция на иллюстрации | Заводской номер детали | Название детали | |
---|---|---|---|
1 | 301 3055 | Screw | |
2 | 301 3068 | Screw | |
3 | 301 7280 | Screw | |
4 | 303 0932 | Selflocking nut | |
5 | 303 1011 | Nut | |
6 | 305 6974 | Washer | |
7 | 317 7650 | Distance tube | |
8 | 317 9475 | Bush | |
9 | 317 9476 | Bush | |
10 | 482 5586 | Support | |
11 | 482 5587 | Support | |
12 | 575 2641 | Gas compression spring | |
13 | 301 3070 | Bolt | |
14 | 329 8548 | Spring |
Содержащиеся в справочниках-каталогах запасные части и детали не предлагаются к продаже, а носят исключительно информационный характер