Каталог запасных частей к технике: Lemken Vari-Opal 100HX. 663 8783 Skim stalk

1
2
3
4
5
6
7
8
9
10
11
12
13
14
15
16
17
18
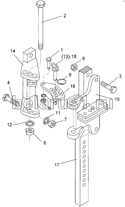
Позиция на иллюстрации | Заводской номер детали | Название детали | |
---|---|---|---|
1 | 301 3367 | Hexagon bolt | |
2 | 301 4541 | Hexagon bolt | |
3 | 301 3868 | Bolt | |
4 | 301 5385 | Bolt | |
5 | 303 0934 | Selflocking nut | |
6 | 303 0935 | Selflocking nut | |
7 | 303 1015 | Nut | |
8 | 303 0977 | Nut | |
9 | 311 9565 | Securing pin | |
10 | 305 9902 | Spring ring | |
11 | 305 6141 | Washer | |
12 | 305 6012 | Washer | |
13 | 313 8159 | Pin with grip | |
14 | 457 7231 | Bracket | |
15 | 457 7230 | Swivel bracket | |
16 | 457 7204 | Lashing | |
17 | 463 8642 | Skim stalk | |
18 | 313 8158 | Pin with grip |
Содержащиеся в справочниках-каталогах запасные части и детали не предлагаются к продаже, а носят исключительно информационный характер