Аркадак
Эль-Монте ваш город?
Да
Выбрать другой город
Написать в
WhatsApp
Написать в
Telegram
Каталог

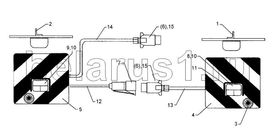
Каталог запасных частей к технике: Lemken VariOpal 7X. Lighting equipment with boards HR+HL7m

zoom-in zoom-out enlarge shrink circle-right circle-left file-text2 info cart
1
2
3
4
5
6
6
7
8
9
10
10
11
12
13
14
15
15
Позиция на иллюстрации Заводской номер детали Название детали
1 321 5012 Plug-on unit
2 321 5013 Plug-on unit
3 321 9917 Reflector
4 321 9934 Warning board
5 321 9935 Warning board
6 373 2121 Plug
7 373 2140 Connector socket
8 373 3130 Rear light, RH
9 373 3133 Rear light, LH
10 373 3526 Light glas
11 373 3801 Rear cover
12 373 4136 Cable, yellow
13 373 4137 Cable, green
14 373 4140 Cable
15 373 2124 Plug
Содержащиеся в справочниках-каталогах запасные части и детали не предлагаются к продаже, а носят исключительно информационный характер