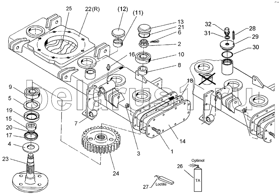
Каталог запасных частей к технике: Lemken Zirkon 9/300. Gear bed Zirkon 9/300

1
2
3
4
5
6
7
8
9
10
11
12
13
14
15
16
17
18
19
20
21
22
23
24
28
29
30
31
32
Позиция на иллюстрации | Заводской номер детали | Название детали | |
---|---|---|---|
1 | 301 5005 | Screw | |
2 | 303 0170 | Castle nut | |
3 | 303 0933 | Selflocking nut | |
4 | 305 6908 | Washer | |
5 | 305 8946 | Securing ring | |
6 | 311 7649 | Peg | |
7 | 317 3421 | Expansion bush | |
8 | 317 7871 | Distance ring | |
9 | 319 8599 | Bearing | |
10 | 319 8642 | Bearing | |
11 | 323 0301 | Housing of cap | |
12 | 323 0310 | Cap of tank | |
13 | 323 0370 | Cover | |
14 | 323 0460 | Cap | |
15 | 323 5023 | Race ring | |
16 | 323 6348 | Grease nipple | |
17 | 323 7601 | Felt ring with housing | |
18 | 323 7685 | Gasket | |
19 | 323 8180 | Oil seal | |
20 | 375 1246 | O-ring | |
21 | 375 1258 | O-ring | |
22 | 408 8641 | Gear bed | |
23 | 455 0723 | Rotor wave | |
24 | 455 1535 | Gear wheel | |
28 | 309 6047 | Expansion bush | |
29 | 323 0311 | Vent cover | |
30 | 375 1231 | O-ring | |
31 | 375 2145 | Copper washer | |
32 | 375 2196 | Vent plug |
Содержащиеся в справочниках-каталогах запасные части и детали не предлагаются к продаже, а носят исключительно информационный характер