Каталог запасных частей к технике: Лидагропроммаш СПУ. ТЕНТ

1
2
3
4
5
5
6
6
6
7
8
9
10
10
10
10
11
11
11
12
13
14
15
15
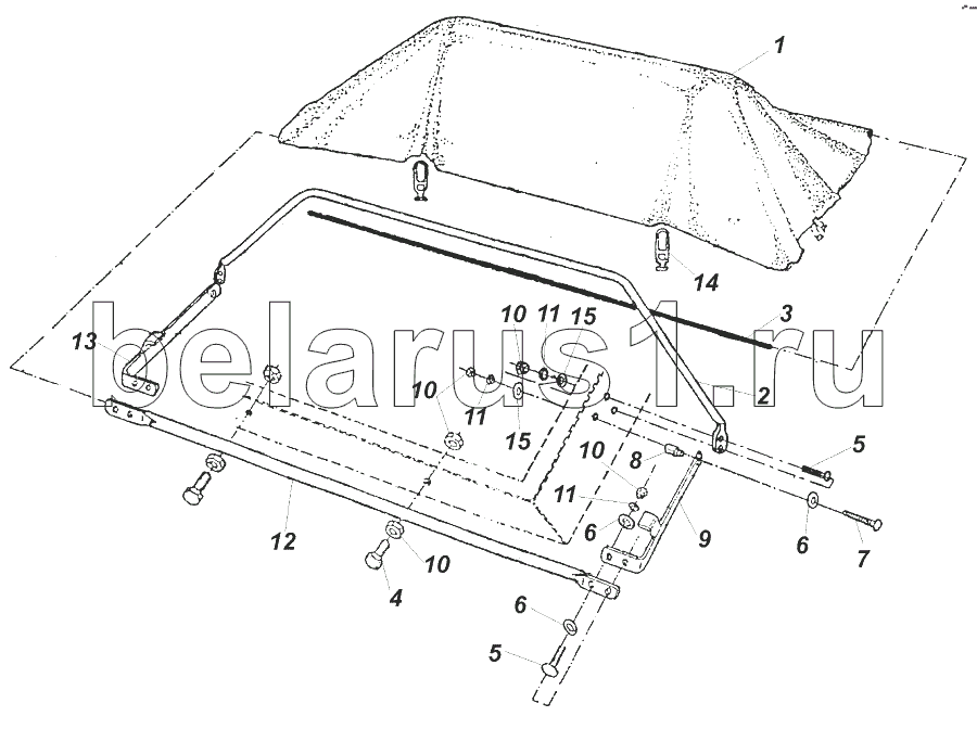
Позиция на иллюстрации | Заводской номер детали | Название детали | |
---|---|---|---|
1 | СП-9.19.200 | Тент | |
2 | СП-3.19.001 | Скоба | |
3 | СП-3.19.003 | Труба | |
4 | Болт М8-8gx45 | Болт | |
5 | Болт М8-6gx25 | Болт | |
6 | 646492 | Шайба | |
7 | Болт М8-8gx50 | Болт | |
8 | 494326 | Втулка | |
9 | 494186 | Скоба правая | |
10 | Гайка М8-7Н | Гайка | |
11 | Шайба 8.65Г | Шайба | |
12 | СП-3.19.002 | Труба | |
13 | 494185 | Скоба левая | |
14 | 494907 | Застежка | |
15 | 646123 | Шайба |
Содержащиеся в справочниках-каталогах запасные части и детали не предлагаются к продаже, а носят исключительно информационный характер