Каталог запасных частей к технике: Massey Ferguson MF-7244 Activa. Cylinder Head Cover

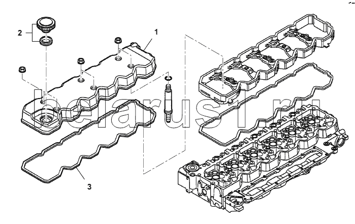
1
2
3
Позиция на иллюстрации | Заводской номер детали | Название детали | |
---|---|---|---|
1 | LA323015750 | Cover | |
2 | LA323017750 | Plug | |
3 | LA323015850 | Gasket |
Содержащиеся в справочниках-каталогах запасные части и детали не предлагаются к продаже, а носят исключительно информационный характер