Каталог запасных частей к технике: Massey Ferguson MF-7244 Activa. Electric System-Control Circuits

1
2
3
4
5
6
7
8
9
10
11
12
13
14
15
16
17
18
19
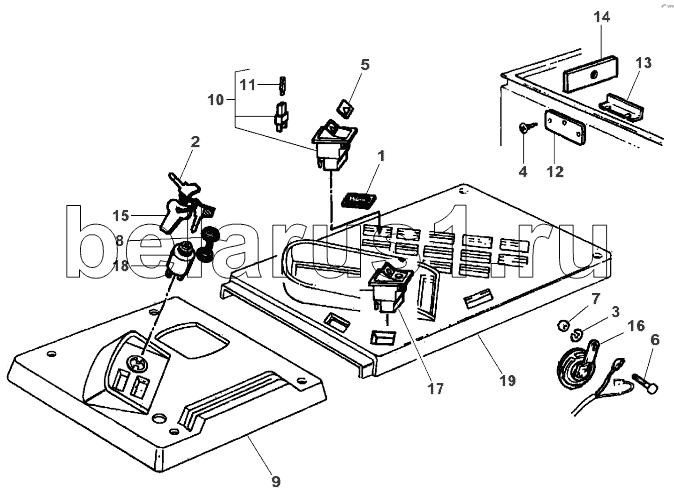
Позиция на иллюстрации | Заводской номер детали | Название детали | |
---|---|---|---|
1 | LA5151033 | Muff | |
2 | LA5170782 | Ignition Key | |
3 | LA12034571 | Lock Washer | |
4 | LA13311611 | Screw | |
5 | LA320938150 | Plate | |
6 | LA16043224 | Cap Screw | |
7 | LA16100811 | Nut | |
8 | LA44901870 | Plug | |
9 | Panel | Panel | |
10 | LA320938000 | Switch | |
11 | LA14143790 | Pin | |
12 | LA322059650 | Cover | |
13 | LA322192450 | Bracket | |
14 | LA322193850 | Plate | |
15 | LA322318650 | Ignition Key | |
16 | LA322692400 | Horn | |
17 | LA322982400 | Button | |
18 | LA340480465 | Switch, Ignition | |
19 | Panel | Panel |
Содержащиеся в справочниках-каталогах запасные части и детали не предлагаются к продаже, а носят исключительно информационный характер