Каталог запасных частей к технике: МТЗ 1220. Тормоза «мокрые»

1
1
2
2
3
3
4
4
5
5
5
6
6
6
6
6
6
6
6
6
6
7
7
8
8
9
9
10
10
11
11
12
12
13
13
14
14
15
16
16
17
17
18
18
19
19
20
20
21
21
22
22
23
24
24
25
25
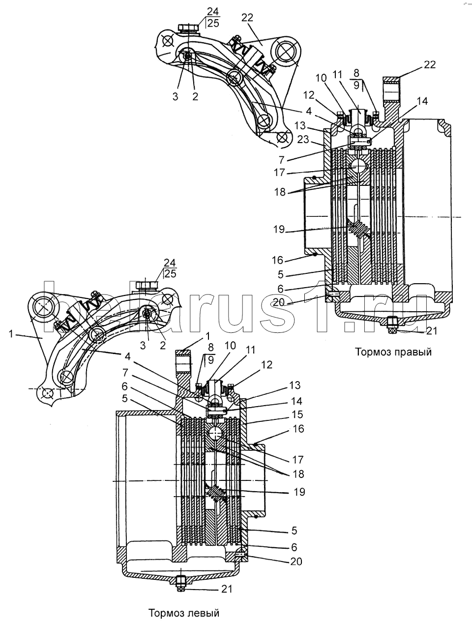
Позиция на иллюстрации | Заводской номер детали | Название детали | |
---|---|---|---|
1221М-3502010-02 | 1221М-3502010-02 | Тормоз правый | |
1221М-3502020-02 | 1221М-3502020-02 | Тормоз левый | |
85-3502030-01 | 85-3502030-01 | Заказать | Диски нажимные |
1 | 1221М-2409035 | Корпус | |
2 | М8-6Н.6.019 | Гайка | |
3 | 50-3502198 | Палец | |
4 | 85-3502196 | Тяга | |
5 | 1522-3502015-07 | Диск | |
6 | 80М-3502037-07 | Заказать | Диск промежуточный |
6 | 80М-3502037-06 | Заказать | Диск промежуточный |
6 | 80М-3502037-05 | Заказать | Диск промежуточный |
6 | 80М-3502037-04 | Заказать | Диск промежуточный |
6 | 80М-3502037-03 | Диск промежуточный | |
6 | 80М-3502037-02 | Заказать | Диск промежуточный |
6 | 80М-3502037-01 | Заказать | Диск промежуточный |
6 | 80М-3502037 | Заказать | Диск промежуточный |
7 | Палец12х32 | Палец | |
8 | М6-6gx12.88.35.019 | Болт | |
9 | ШайбаШайба6Т | Шайба | |
10 | 80М-3502202 | Заказать | Чехол |
11 | 50-3502203 | Заказать | Вилка |
12 | 80М-3502204 | Пластина | |
13 | 1221М-3502051 | Прокладка | |
14 | Шплинт3,2х18.019 | Шплинт | |
15 | 1221М-2407059 | Заказать | Крышка стакана |
16 | 115-120-30-2-2 | Заказать | Кольцо |
17 | 22,225-100 | Шарик | |
18 | 85-3502036-01 | Диск нажимной | |
19 | 77.38.163 | Пружина | |
20 | В.М8-6gx25.58.019 | Винт | |
21 | ПККГ78 | Пробка | |
22 | 1221М-3502035 | Корпус | |
23 | 1221М-2407059-01 | Заказать | Крышка стакана |
24 | 1221-1802091 | Пробка резьбовая | |
25 | Д18-055-А | Заказать | Шайба |
Содержащиеся в справочниках-каталогах запасные части и детали не предлагаются к продаже, а носят исключительно информационный характер