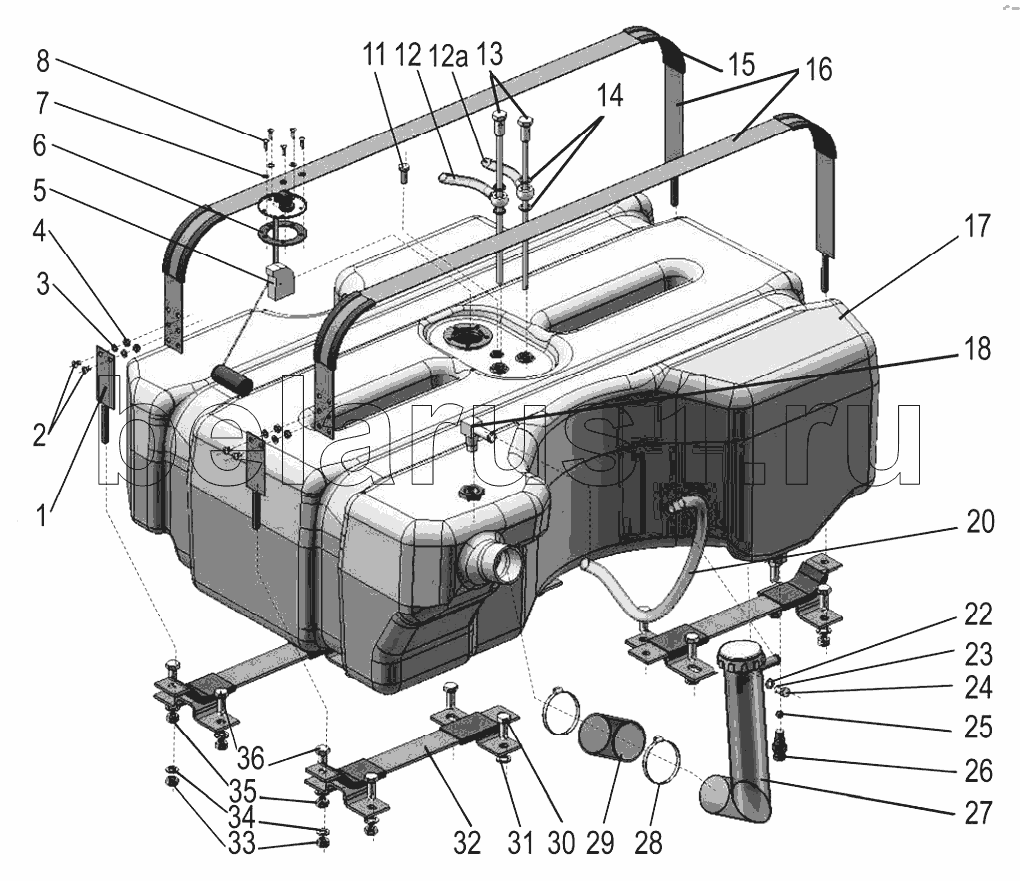
Каталог запасных частей к технике: МТЗ 1220.5. Бак топливный
1
2
3
4
5
6
7
8
11
12
12a
13
14
15
16
17
17
18
20
22
23
24
25
26
27
28
29
30
31
32
33
34
35
36
| Позиция на иллюстрации | Заводской номер детали | Название детали | |
|---|---|---|---|
| 920-1101500-04 | 920-1101500-04 | Бак | |
| 1 | 1221-1101690-01 | Хомут | |
| 2 | М6-6gx10.58.019 | Винт | |
| 3 | 6Т | Шайба | |
| 4 | М6-6Н.6.019 | Гайка | |
| 5 | ДУОТ.265Ч-01 | Датчик | |
| 6 | 200-3806026 | Прокладка | |
| 7 | 80-1101067 | Шайба | |
| 8 | В.М5-6gx35.58.019 | Винт | |
| 11 | КГ1/8dm.А12.019 | Пробка | |
| 12 | 920-1101162-11 | Трубка | |
| 12a | 920-1101162-10 | Трубка | |
| 13 | 1221-1101530 | Заказать | Топливозаборник |
| 14 | РМ14 | Шайба | |
| 15 | ПР-43-03 | Уплотнитель | |
| 16 | 1221-1101690 | Хомут | |
| 17 | 1221-1101510 | Бак | |
| 17 | ЯВАГ1221-1101510 | Бак | |
| 18 | 1221-1101620 | Угольник | |
| 20 | 85-1101002-03 | Трубка | |
| 22 | С8.01.019 | Шайба | |
| 23 | 8Т | Шайба | |
| 24 | М8-6gx20.88.35.019 | Болт | |
| 25 | 11,112-100 | Шарик | |
| 26 | 822-1101081 | Заказать | Штуцер |
| 27 | 920-1101260 | Горловина заливная | |
| 28 | XC-66 | Хомут | |
| 29 | 70-1101035-Б | Заказать | Рукав |
| 30 | М12-6gx45.88.35.019 | Болт | |
| 31 | 12.ОТ | Шайба | |
| 32 | 1221-1101130 | Кронштейн | |
| 33 | М10-6Н.04.019 | Гайка | |
| 34 | 10.ОТ | Шайба | |
| 35 | С10.01.019 | Шайба | |
| 36 | М10-6gx25.88.35.019 | Болт |
Содержащиеся в справочниках-каталогах запасные части и детали не предлагаются к продаже, а носят исключительно информационный характер