Каталог запасных частей к технике: МТЗ 1220.5. Тягово-сцепное устройство
1
2
3
4
5
6
7
8
9
9
9
10
11
12
13
14
15
16
17
18
19
20
21
22
23
24
25
26
27
27
28
28
29
30
31
32
33
34
35
36
37
38
39
40
41
42
43
44
45
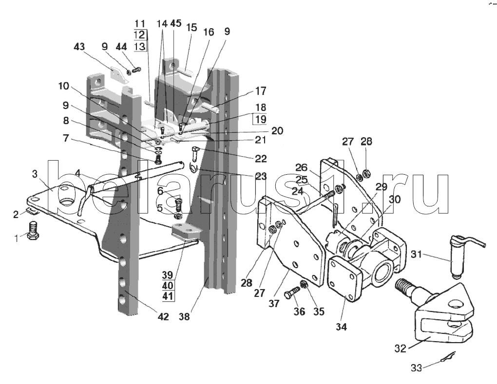
| Позиция на иллюстрации | Заводской номер детали | Название детали | |
|---|---|---|---|
| 1322-2707210 | 1322-2707210 | Тягово-сцепное устройство | |
| 1 | 1321-2707014 | Заказать | Болт |
| 2 | 1222-2707137 | Пластина | |
| 3 | 1321-2707011-Б | Плита | |
| 4 | 1321-2707030 | Палец | |
| 5 | 16.ОТ | Шайба | |
| 6 | 1220-4605506 | Заказать | Болт |
| 7 | М6-6gx18.88.35.019 | Болт | |
| 8 | С6.01.019 | Шайба | |
| 9 | 6Т | Шайба | |
| 10 | М6-6Н.6.019 | Гайка | |
| 11 | 921-2707068-02 | Шпилька | |
| 12 | М20х1,5-6Н.6.019 | Гайка | |
| 13 | 20.ОТ | Шайба | |
| 14 | 1321-2707083-Б | Скоба | |
| 15 | 921-2707068 | Шпилька | |
| 16 | М6-6gx12.88.35.019 | Болт | |
| 17 | 921-2707068-03 | Шпилька | |
| 18 | 1322-2707274 | Стяжка | |
| 19 | 1322-2707211 | Втулка | |
| 20 | 1322-2707280 | Щиток в сборе | |
| 21 | А.6х30.65Г | Штифт | |
| 22 | А61.05.005 | Заказать | Чека |
| 23 | А61.05.004 | Кольцо | |
| 24 | 1522-2707244 | Заказать | Стяжка |
| 25 | 6,3x63.019 | Шплинт | |
| 26 | 1321-2707070-Б-01 | Пластина | |
| 27 | 16.ОТ | Шайба | |
| 28 | М16-6Н.6.019 | Гайка | |
| 29 | 1522-2707243 | Заказать | Гайка |
| 30 | 1522-2707242 | Шайба | |
| 31 | 1522-2707079-А | Шкворень | |
| 32 | 921-2707055 | Вилка | |
| 33 | А61.07.001-А | Шплинт | |
| 34 | 1321-2707051-Б | Кронштейн | |
| 35 | 20.ОТ | Шайба | |
| 36 | 680-2707024 | Заказать | Болт |
| 37 | 1321-2707070-Б | Пластина | |
| 38 | 1322-2707261 | Боковина | |
| 39 | 900-2707135 | Пластина | |
| 40 | 900-2707135-01 | Пластина | |
| 41 | 900-2707135-02 | Пластина | |
| 42 | 1322-2707261-01 | Боковина | |
| 43 | 1322-2707262-01 | Кронштейн | |
| 44 | М6-6gx16.88.35.019 | Болт | |
| 45 | 1322-2707262 | Кронштейн |
Содержащиеся в справочниках-каталогах запасные части и детали не предлагаются к продаже, а носят исключительно информационный характер