Каталог запасных частей к технике: МТЗ 1523.5 с ГМТ. Коробка передач

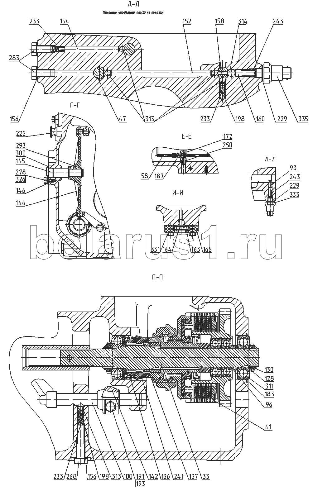
33
41
47
58
93
96
100
128
130
136
137
142
144
145
146
152
154
156
156
158
160
163
164
165
172
183
187
191
198
198
222
229
229
233
233
233
241
243
243
250
268
278
283
293
300
311
313
313
314
326
331
333
335
Позиция на иллюстрации | Заводской номер детали | Название детали | |
---|---|---|---|
1525-17000101) | 1525-17000101) | Коробка передач | |
1525-1700010-022) | 1525-1700010-022) | Коробка передач | |
1 | 1525-1701020 | Узел передач | |
3 | 1222-1701050 | Вал | |
5 | 1525-1701160 | Вал | |
8 | 1525-1701314-А | Шестерня | |
21 | 2025-1701430 | Трубопровод | |
23 | 2025-1702010 | Механизм управления | |
31 | 1522-1701350 | Втулка | |
33 | 1521-1802065 | Вал | |
36 | 1520-1701340 | Шестерня | |
38 | 1222-1701312-А | Шестерня | |
39 | 1222-1704010 | Привод насоса | |
41 | 1221-1802030 | Заказать | Фрикцион |
44 | 112-1701200 | Шестерня в сборе | |
47 | 85-1702050 | Поводок | |
50 | 80-1701140-Б | Гнездо | |
52 | 80-1701240 | Заказать | Вал |
56 | 80-1701310 | Стакан со штуцером и трубкой в сборе | |
58 | 80-1701420 | Заказать | Трубка |
61 | 80-1716010 | Заказать | Фильтр в сборе |
67 | 75-1701320 | Вал в сборе | |
73 | 1525-1701221 | Шестерня | |
79 | 2025-1701033 | Втулка | |
80 | 2025-1701525 | Шпилька | |
81 | 2025-1701525-01 | Шпилька | |
84 | 1523-1701025 | Корпус | |
86 | 1522-1701254 | Шайба 0,2 мм | |
87 | 1522-1701254-01 | Шайба 0,5 мм | |
88 | 1522-1701354 | Заказать | Шайба |
89 | 1522-1701525 | Шпилька | |
91 | 1522-1702035 | Поводок | |
93 | 1522-1702306 | Штифт | |
96 | 1521-1802043 | Втулка | |
99 | 1520-1701184 | Муфта | |
100 | 1520-1702038 | Поводок | |
107 | 1222-1701224 | Шестерня | |
109 | 1222-1701313 | Шестерня | |
111 | 1222-17013441) | Втулка | |
111 | 1025-17013442) | Шестерня | |
113 | 1222-1701349 | Втулка | |
115 | 1222-1701353 | Шайба | |
117 | 1222-1701361 | Шестерня | |
121 | 1222-1702029 | Заказать | Вилка |
122 | 1222-1702037 | Поводок | |
128 | 1221-1802019 | Заказать | Шайба |
130 | 1221-1802023 | Заказать | Гайка |
131 | 1221-1802091 | Пробка резьбовая | |
132 | 220-3503024 | Пластина стопорная | |
133 | 112-1701343 | Муфта | |
136 | 86-1802027 | Пружина | |
137 | 86-1802028 | Заказать | Втулка |
138 | 86-1802052 | Шайба | |
140 | 85-1702026 | Прокладка | |
141 | 85-1702027 | Заказать | Вилка |
142 | 85-1702034 | Вилка | |
144 | 85-1702041 | Коромысло | |
145 | 85-1702042 | Заказать | Ось |
146 | 85-1702043 | Пластина | |
148 | 85-1702045 | Поводок | |
152 | 85-1702046 | Палец | |
154 | 85-1702048 | Штифт | |
156 | 85-1702051 | Шайба | |
158 | 85-1702301 | Ось | |
160 | 85-1702305 | Штифт | |
163 | 85-4608086-Б | Заказать | Уплотнитель |
164 | 85-4608087-Б1 | Заказать | Указатель |
165 | 85-4608088-Б | Корпус | |
168 | 80-1701026 | Прокладка | |
170 | 80-1701045 | Заказать Заказать | Гайка |
172 | 80-1701057 | Заказать | Штуцер |
174 | 80-1701205 | Планка | |
175 | 80-1701206 | Кольцо | |
179 | 80-1701306 | Шайба | |
180 | 80-17013461) | Втулка | |
180 | 80-1701346-012) | Втулка | |
183 | 80-1701397 | Кольцо | |
187 | 80-1701549 | Заказать | Штуцер |
191 | 80-1702108 | Заказать | Болт |
196 | 80-1704016 | Прокладка | |
198 | 80-1704039 | Заказать | Направляющая |
200 | 80-1716016 | Прокладка | |
204 | 80-4608021 | Заглушка | |
207 | 75-1701352 | Заказать | Втулка |
210 | 70-1115012 | Хомутик | |
211 | 70-1701454-А2-01 | Крышка | |
219 | 52-2308097 | Заказать Заказать Заказать | Гайка |
222 | 50-1002318-Б | Заказать | Рым |
224 | 50-1701258 | Заказать | Прокладка регулировочная 0,2 мм |
225 | 50-1701259 | Заказать | Прокладка регулировочная 0,5 мм |
226 | 50-1701456-А | Прокладка | |
229 | 50-1702048 | Прокладка | |
231 | 50-1702092 | Заказать | Болт призонный М12х42 |
233 | 50-1702148-А | Заказать | Пружина фиксатора |
234 | 48А-3801023 | Трубка | |
241 | 8020-1802026 | Полумуфта | |
243 | 12-23-668-А | Пружина | |
245 | 54-31-472 | Заказать | Кольцо пружинное |
248 | Д01-015 | Заказать | Штифт установочный |
250 | Д18-055-А | Заказать | Шайба |
255 | ПК КГ 3, 8" | Пробка | |
257 | ШЦК 10х25 | Штифт | |
268 | Болт М12-6дх55.88.35.019 | Болт | |
269 | Болт М12-6дх100.58.019 | Болт | |
275 | Болт М8-6дх20.88.35.019 | Болт | |
278 | Болт М10-6дх20.88.35.019 | Болт | |
279 | Болт М10-6дх25.88.35.019 | Болт | |
280 | Болт М10-6дх30.88.35.019 | Болт | |
281 | Болт М10-6дх35.88.35.019 | Болт | |
282 | Болт М10-6дх40.109.40Х.019 | Болт | |
283 | Болт М12-6дх25.88.35.019 | Болт | |
284 | Болт М12-6дх30.88.35.019 | Болт | |
293 | С25 | Заказать | Кольцо |
294 | 2С70 | Кольцо | |
295 | 2С75 | Кольцо | |
300 | 026-030-25-2-2 | Кольцо | |
301 | 027-032-30-1-4 | Кольцо | |
305 | 12507 КМ | Подшипник | |
306 | 692215 К1М | Подшипник | |
308 | 6-67512 АШ2 | Подшипник | |
311 | 6-50306 К | Подшипник | |
313 | Шарик 10,0-60 | Шарик 10,0-60 | |
314 | Шарик 12,7-60 | Шарик | |
325 | Шайба 8Т | Шайба 8Т | |
326 | Шайба 10.ОТ | Шайба | |
327 | Шайба 12.ОТ | Шайба | |
331 | Болт М6х20 DIN EN 1665-98 | Болт | |
333 | Выключатель | Выключатель | |
335 | ВК 12-41 | Выключатель | |
343 | КК 70х78х31 Е (664514Е) | Подшипник | |
344 | КК 52х60х39 Е (664910Е) | Подшипник | |
348 | GT-D 109, 116 | Синхронизатор | |
348 | 3.26299.3 | Синхронизатор | |
355 | 1,6-О-С | Проволока |
Содержащиеся в справочниках-каталогах запасные части и детали не предлагаются к продаже, а носят исключительно информационный характер