Каталог запасных частей к технике: МТЗ 2122.3/2122.4. Передний ВОМ

1
2
3
4
5
6
7
8
9
11
12
13
14
15
16
17
18
19
20
21
22
23
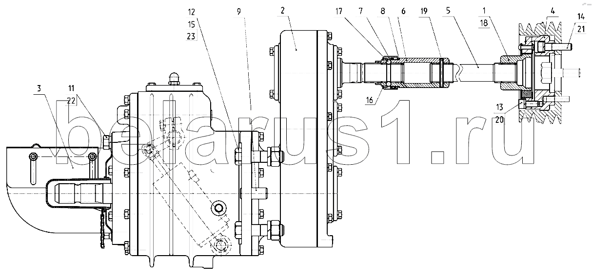
Позиция на иллюстрации | Заводской номер детали | Название детали | |
---|---|---|---|
2022-4209100-В | 2022-4209100-В | Передний ВОМ | |
1 | 2022-4209020 | Муфта | |
2 | 2022-4209105-Б | Редуктор ВОМ | |
3 | 2022-4209200 | Ограждение | |
4 | 2022-4209011-Б | Проставка | |
5 | 2022-4209012-Б | Вал | |
6 | 2022-4209013 | Муфта | |
7 | 2022-4209014 | Втулка | |
8 | 2022-4209015 | Пружина | |
9 | 50-4605027 | Заказать | Штифт |
11 | БолтМ16-6gх32.88.35.019 | Болт | |
12 | БолтМ20-6gх75.88.35.019 | Болт М20-6gх75.88.35.019 | |
13 | ВинтМ10-6gх25.56.019 | Винт М10-6gх25.56.019 | |
14 | ВинтМ12-6gх50.68.019 | Винт М12-6gх50.68.019 | |
15 | ГайкаМ20-6Н.6.019 | Гайка | |
16 | КольцоС48 | Кольцо С48 | |
17 | Шарик7,938-100 | Шарик 7,938-100 | |
18 | Штифт8х20 | Штифт 8х20 | |
19 | ШтифтА.6х30.65Г | Штифт А.6х30.65Г | |
20 | Шайба10 | Шайба | |
21 | Шайба12.ОТ | Шайба | |
22 | Шайба16.ОТ | Шайба | |
23 | Шайба20.ОТ | Шайба |
Содержащиеся в справочниках-каталогах запасные части и детали не предлагаются к продаже, а носят исключительно информационный характер